TOP
首页 > 新闻动态
2026-02-04
在5G通信、数据中心建设高速发展的当下,光纤通信网络的传输速率不断突破上限,对核心光无源器件的小型化、集成化与可靠性提出了更为严苛的要求。可调光衰减器(VOA)作为光通信系统中调节光功率、保障信号稳定传输的关键器件,其性能直接影响整个通信链路的运行效率。科毅光通信深耕光通信领域多年,专注于光开关、可调光衰减器等核心器件的研发与生产,结合行业痛点推出高可靠性集成TAP-PD的可调光衰减器,凭借紧凑结构、简易装配与卓越稳定性,成为光纤通信系统的优选方案。
随着全球数据流量的爆炸式增长,光纤通信网络正朝着高密度、高带宽、低延迟的方向演进,光模块作为信号传输的核心单元,对内部器件的空间占用、功能集成度要求日益提高。可调光衰减器作为光模块中的重要组成部分,主要用于补偿光链路损耗、调节光功率平衡,其性能与尺寸设计直接影响光模块的整体性能与应用场景适配性。
目前市场上主流的可变衰减器主要分为MEMS转镜式和MEMS挡片式两类。MEMS转镜式芯片尺寸相对较小,但要实现TAP-PD(光分路-光电探测)功能集成时,需要对光路进行复杂的重构设计,不仅增加了研发难度,还可能导致器件稳定性下降;而MEMS挡片式芯片虽然能够在复杂度基本不变的前提下集成TAP-PD功能,但传统结构的MEMS挡片式可调光衰减器存在物料繁多、封装尺寸偏大、装配工艺复杂等问题,难以满足光模块小型化、低成本的量产需求。
此外,传统可调光衰减器在温度适应性与长期可靠性方面也存在短板。由于挡光式芯片与光纤准直器等核心部件对装配精度和环境稳定性要求极高,传统装配方式容易导致敏感部件受力不均,在高低温环境下出现性能漂移,影响通信系统的长期稳定运行。因此,研发一款结构紧凑、装配简便、可靠性高且成本可控的集成TAP-PD功能的可调光衰减器,成为光通信行业的迫切需求。
广西科毅光通信基于多年光无源器件研发经验,推出的高可靠性集成TAP-PD可调光衰减器,通过创新结构设计与优化装配工艺,成功解决了传统产品的诸多痛点。以下从核心结构、工作原理、技术优势三方面展开详细介绍:
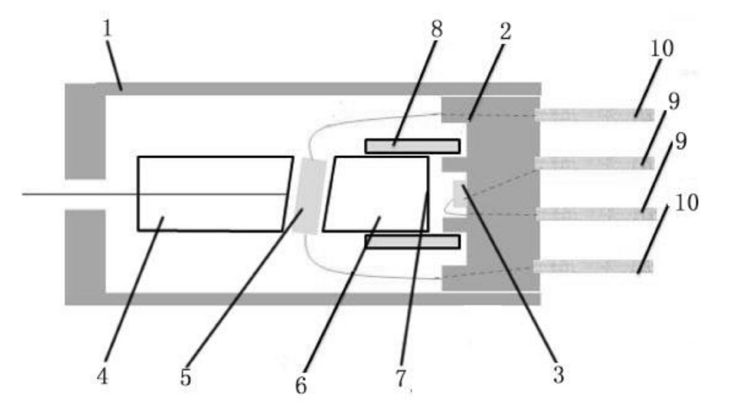
该可调光衰减器主要由外封管、绝缘基座、光纤准直器、光探测器及专用结构件组成,各部件协同配合,实现光功率调节与光电信号转换的一体化功能。
1. 外封管:作为器件的外部保护结构,一端固定绝缘基座,另一端设有导纤孔,用于光纤的引入与固定。导纤孔内采用胶或金属焊料填充密封,有效隔绝外界灰尘、湿气等干扰,保障器件内部光路的稳定性。
2. 绝缘基座:固定于外封管一端,起到支撑与电气隔离的作用。基座外端面固定连接两个第一pin脚和两个第二pin脚,其中第一pin脚与光探测器的pad脚连接导通,第二pin脚与挡光式芯片的pad脚连接导通,实现电信号的稳定传输;基座内侧端面用于固定光探测器,同时通过结构件与光纤准直器连接,确保光路对准精度。
3. 光纤准直器:核心光路部件,依序由双芯光纤头、挡光式芯片和自聚焦透镜组成,是实现光功率调节的关键。双芯光纤头至少设有输入光纤和输出光纤,用于光信号的输入与输出;其朝向挡光式芯片的端面设计为楔角面,并镀有增透膜层,可减少光信号的反射损耗,提升透光效率。挡光式芯片采用电驱动挡片产生位移的设计,通过调节挡片位置实现对入射光斑的遮挡程度控制,进而调节光功率衰减量。自聚焦透镜朝向挡光式芯片的端面同样设计为楔角面并镀有增透膜层,朝向光探测器的一端则直接镀有分光装置(分光膜层),无需额外设置独立分光部件,简化了结构设计。
4. 光探测器:固定于绝缘基座内侧端面,用于接收从分光装置透过的光信号,并将其转换为电信号,通过第一pin脚输出,实现光功率的实时监测与反馈。
5. 专用结构件:本产品的核心创新点之一,用于将光纤准直器与绝缘基座连接固定,且结构件完全置于外封管内部,不增加器件整体尺寸。根据应用场景不同,结构件提供三种设计方案:
○ 方案一:结构件为绝缘基座内端面上的定位槽,自聚焦透镜通过胶粘固定在定位槽内,装配简便且定位精度高;
○ 方案二:结构件为连接管(玻璃管或金属管),自聚焦透镜胶粘固定套接在连接管一端,连接管另一端与绝缘基座内端面胶粘固定,适用于对连接强度要求较高的场景;
○ 方案三:结构件为定位座,定位座胶粘固定在外封管内,双芯光纤头胶粘固定在定位座上,两个第二pin脚穿过绝缘基座上的导向孔与定位座连接固定,导向孔内用胶或金属焊料填充密封,进一步提升器件的抗震性与稳定性。
此外,光纤准直器的组装方式也提供两种选择:一是双芯光纤头、挡光式芯片和自聚焦透镜之间依序通过端面胶粘固定连接;二是三者通过胶粘套接固定在一套管(玻璃管或金属管)内,套管管壁开有导电材料穿过的通孔,方便电气连接,同时提升整体结构强度。
该可调光衰减器的工作流程可分为光功率调节与光电信号转换两个核心环节,具体如下:
1. 光功率调节:入射光从双芯光纤头的输入光纤出射,经过挡光式芯片时,根据外界驱动电信号的强度,挡光式芯片的挡片产生相应位移。在无外界驱动时,挡片处于初始状态,其边缘与输入光纤出射的光斑外径相切,此时光信号无遮挡全部进入自聚焦透镜;随着驱动电信号增强,挡片位移增大,对光斑的遮挡程度逐渐增加,进入自聚焦透镜的光能量随之减少,从而实现光功率的衰减调节。
2. 光电信号转换与反馈:经过挡光式芯片调节后的光信号进入自聚焦透镜,在自聚焦透镜的准直作用下形成平行光。一部分平行光经分光装置反射后,被耦合回双芯光纤头的输出光纤,实现衰减后的光信号传输;另一部分平行光透过分光装置,被光探测器接收。光探测器将光信号转换为对应的光电流,通过第一pin脚输出至外部监测系统,由于衰减后的光能量被分光装置等比例分配,光电流的大小可间接反馈出输出光纤的光功率强度,实现光功率的实时监测与闭环控制。
1. 结构紧凑,封装尺寸小:通过专用结构件将光纤准直器与绝缘基座直接连接,无需额外的固定支架或复杂连接件,减少了器件所需物料种类与数量;同时,分光装置直接镀在自聚焦透镜端面上,省去了独立分光部件的安装空间,使得整个器件的封装尺寸大幅缩小,可完美适配小型化光模块的安装需求。
2. 装配工艺简单,成本可控:光纤准直器的组装采用端面胶粘或套管套接固定方式,结构件的安装流程简便,无需高精度的复杂工装设备,降低了装配难度与生产耗时;物料种类的减少与装配效率的提升,使得产品的生产成本显著降低,具备大规模量产的优势。
3. 高可靠性与热稳定性:在装配过程中,专用结构件的设计避免了对挡光式芯片、光纤准直器等敏感部件的直接受力,减少了装配应力对器件性能的影响;外封管与导纤孔、导向孔的密封设计,有效隔绝了外界环境的干扰;同时,楔角面与增透膜层的设计减少了光信号的反射损耗,提升了光路稳定性。通过大量实验验证,该器件在-40℃~85℃的宽温度范围内可保持稳定性能,长期使用无明显性能漂移,满足光通信系统的高可靠性要求。
4. 功能集成度高:一体化集成了光功率调节与光电探测功能,无需额外搭配TAP器件或光探测器,简化了光模块的内部结构设计,降低了系统集成成本,同时减少了光路连接点,提升了系统的整体稳定性。
为满足不同应用场景的需求,该高可靠性集成TAP-PD可调光衰减器提供四种典型实施案例,具体如下:
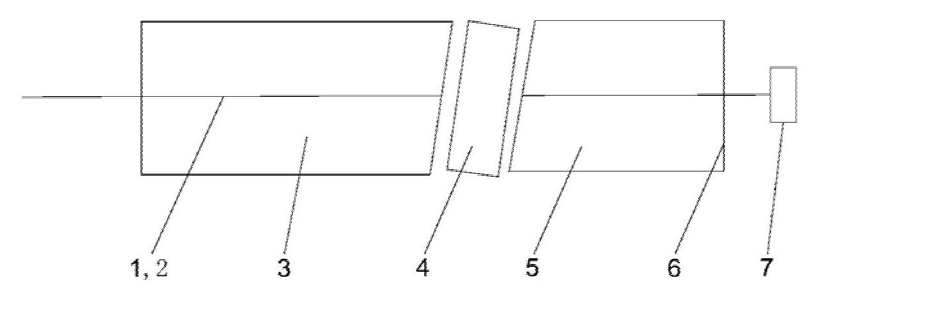
如图1所示,双芯光纤头、挡光式芯片和自聚焦透镜通过端面胶粘的方式依序固定连接,形成完整的光纤准直器。绝缘基座内端面上设有定位槽,将自聚焦透镜通过胶粘固定在定位槽内,实现光纤准直器与绝缘基座的快速定位与固定。该方案装配流程最简单,定位精度高,适用于对生产成本与装配效率要求较高的批量生产场景。

图1
如图2所示,双芯光纤头、挡光式芯片和自聚焦透镜通过端面胶粘固定连接,结构件采用玻璃或金属材质的连接管。自聚焦透镜的一端胶粘固定套接在连接管内,连接管的另一端与绝缘基座内端面胶粘固定,通过连接管实现光纤准直器与绝缘基座的稳固连接。该方案的连接强度更高,抗震性能优异,适用于通信设备振动较大的应用场景,如工业级光模块、户外通信基站等。

图2
如图3所示,双芯光纤头、挡光式芯片和自聚焦透镜通过胶粘套接固定在一套管内,套管管壁开有通孔用于导电材料穿过。绝缘基座内端面上设有定位槽,将套管连同内部的光纤准直器部件一起胶粘固定在定位槽内。该方案进一步提升了光纤准直器的整体结构强度,避免了单个部件的松动风险,适用于对器件机械稳定性要求极高的场景,如航空航天、高端数据中心等。

图3
如图4所示,双芯光纤头、挡光式芯片和自聚焦透镜通过端面胶粘固定连接,结构件采用定位座。定位座胶粘固定在外封管内部,双芯光纤头胶粘固定在定位座上,两个第二pin脚穿过绝缘基座上的导向孔后与定位座连接固定,导向孔内用胶或金属焊料填充密封。该方案通过定位座与pin脚的协同固定,进一步提升了光纤准直器的定位精度与结构稳定性,同时密封设计增强了器件的抗干扰能力,适用于恶劣环境下的光通信应用。

图4
该高可靠性集成TAP-PD可调光衰减器凭借其小型化、高可靠性、功能集成等优势,广泛应用于以下光通信领域:
1. 光模块:适用于SFP、QSFP等系列小型化光模块,作为光功率调节与监测的核心部件,满足光模块高密度、低功耗的设计需求,可应用于10G/25G/100G等不同速率的光模块产品。
2. 光纤通信网络:用于骨干网、城域网、接入网等光纤通信链路中,调节光节点的光功率平衡,补偿链路损耗,保障信号传输质量;同时通过光电探测功能实现光功率的实时监测,便于网络故障排查与维护。
3. 数据中心:随着数据中心的高速互联需求增长,该器件可用于数据中心内部的光链路调节,适配高密度光配线架的安装需求,提升数据传输的稳定性与效率,支持云计算、大数据等业务的高速发展。
4. 5G基站:应用于5G基站的光传输单元(OTU)中,调节基站与核心网之间的光功率,适应5G基站的小型化、户外部署需求,保障5G信号的稳定传输。
5. 测试仪器:作为光通信测试仪器的核心部件,用于光功率衰减测试、光模块性能测试等场景,凭借高精度的衰减调节与实时监测功能,提升测试仪器的准确性与可靠性。
广西科毅光通信科技有限公司是一家专注于光通信核心器件研发、生产与销售的高新技术企业,核心产品涵盖光开关、可调光衰减器、光纤准直器等系列产品,广泛应用于光纤通信、数据中心、5G基站、测试仪器等领域。公司始终坚持以技术创新为核心竞争力,依托专业的研发团队与完善的生产体系,为客户提供高品质、高性价比的光通信解决方案。
公司拥有一支由光通信领域资深工程师组成的研发团队,具备丰富的器件设计、光路优化与工艺改进经验。本次推出的高可靠性集成TAP-PD可调光衰减器,正是基于公司自主研发的技术,通过持续的技术迭代与实验验证,确保产品性能达到行业领先水平。同时,公司与国内多家科研机构建立了长期合作关系,紧跟光通信技术的发展趋势,不断推出适应市场需求的创新产品。
公司建立了标准化的生产车间与完善的质量控制体系,从原材料采购、零部件加工、产品装配到成品检测,每个环节都严格遵循ISO9001质量管理体系标准。采用先进的生产设备与检测仪器,如高精度光功率计、光谱分析仪、高低温试验箱等,确保每一批产品都符合设计要求。针对高可靠性集成TAP-PD可调光衰减器,公司制定了专项的生产工艺规范与检测流程,对器件的衰减精度、插入损耗、回波损耗、温度稳定性等关键指标进行全面检测,保障产品的高可靠性与一致性。
公司秉持“以客户为中心”的服务理念,为客户提供全方位的技术支持与售后服务。专业的技术团队可根据客户的具体需求,提供定制化的产品设计与解决方案;完善的售后服务网络确保客户在产品使用过程中遇到的问题能够得到及时响应与解决。公司的官方网站(www.coreray.cn)提供产品详细介绍、技术资料下载、在线咨询等服务,欢迎广大客户访问了解更多产品信息。
在光纤通信技术高速发展的今天,小型化、集成化、高可靠性已成为光无源器件的核心发展趋势。广西科毅光通信推出的高可靠性集成TAP-PD可调光衰减器,通过创新的结构设计、优化的装配工艺与卓越的性能表现,成功解决了传统产品的尺寸、成本与可靠性痛点,为光模块与光通信系统的升级提供了有力支撑。
作为专业的光开关、可调光衰减器生产销售商,广西科毅光通信将持续深耕光通信领域,以技术创新为驱动,以产品质量为保障,以客户需求为导向,不断推出更多高性能的光通信核心器件,为全球光通信行业的发展贡献力量。如果您对我们的产品感兴趣,欢迎访问公司官方网站(www.coreray.cn)或联系我们的销售团队,我们将为您提供详细的产品介绍与专业的解决方案。