TOP
首页 > 新闻动态
2026-02-07
科毅光通信--专业从事光开关、光衰减器等光通信无源器件研发与生产的高新技术企业,始终关注行业技术前沿与产品性能提升。今天,我们将结合一项具有实际应用价值的技术—一种WDL补偿的反射式可调光衰减器,为大家深入解析其技术原理、结构优势及其在光纤通信系统中的应用意义,同时也为大家展示我们在光器件设计与工艺实现方面的技术积累。
在光纤通信系统中,可调光衰减器(Variable Optical Attenuator, VOA)是一种重要的光无源器件,用于动态调节光信号功率,保障系统各通道光功率平衡,提升传输性能。尤其是基于MEMS技术的反射式可调光衰减器,因其体积小、响应快、可靠性高,在密集波分复用(DWDM)系统、光线路保护、光功率管理等领域得到广泛应用。
然而,传统基于MEMS的反射式可调光衰减器存在一个普遍问题:波长相关损耗(Wavelength Dependent Loss, WDL)较大。即在不同的工作波长下,衰减器引入的损耗不一致,导致信号失真,影响系统整体性能。尤其在衰减量达到20dB时,WDL值可能高达1.2dB以上,难以满足高速、大容量光通信系统对信号质量的高要求。
为应对这一问题,行业内提出了多种WDL补偿方案,例如插入光学楔角片、采用斜面透镜或通过光纤偏移实现补偿等。但这些方案往往存在结构复杂、工艺难度大、回波损耗高或实际难以实现等缺点,制约了其在实际工程中的应用。
针对上述问题,我们提出一种结构简单、工艺易于实现且具备良好WDL补偿效果的反射式可调光衰减器方案。该方案在不增加额外光学元件的前提下,通过巧妙的结构设计,实现了对波长相关损耗的有效补偿。
结构组成
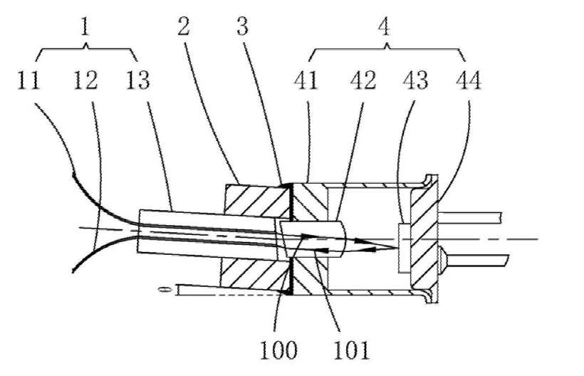
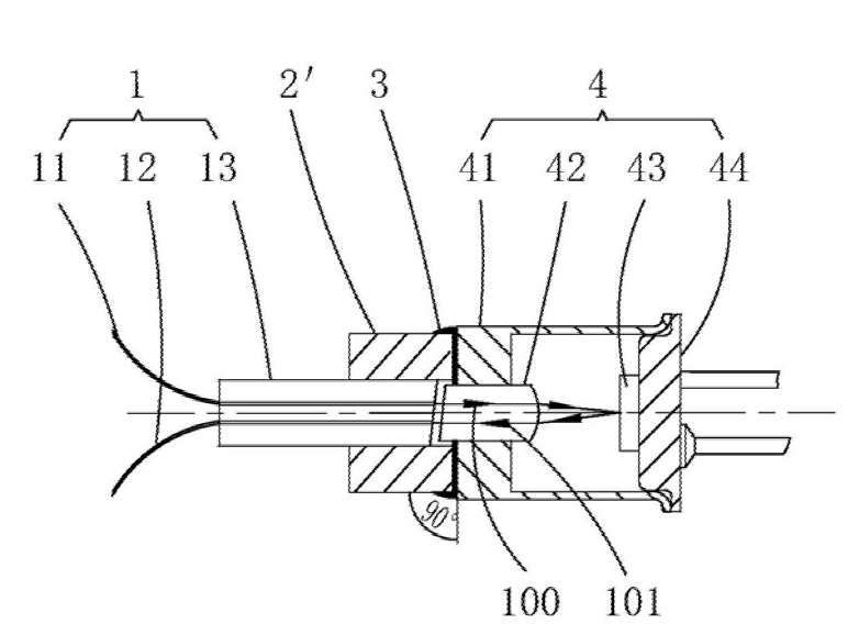
该衰减器沿光路方向依次包括:
双光纤头:内含输入光纤与输出光纤,用于光信号的输入与输出耦合。
玻璃套管:用于固定和定位。
环氧胶:用于部件间的粘接与固定。
MEMS芯片TO封装组件:包括TO管帽、准直透镜、MEMS芯片及TO管座,是衰减器的核心执行部件。
关键设计特征
本方案最核心的创新在于:双光纤头与MEMS芯片TO封装组件之间设置了一个微小的倾斜角度θ。该角度通过玻璃套管进行精确设定与控制,通常取值范围在1°至5°之间,最优选为2°。这一设计使得光路不再关于透镜中心轴对称,而是形成离轴传播,从而在光学层面自然引入色散补偿机制,实现对WDL的抑制。

图1:传统MEMS反射式可调光衰减器光路示意图(轴对称结构,无WDL补偿功能)

图2:本实用新型WDL补偿反射式可调光衰减器结构示意图
1. 无衰减状态:MEMS芯片未加电时,从输入光纤发出的光经准直透镜变为平行光,垂直入射到MEMS反射镜面后原路返回,再经透镜聚焦高效耦合进输出光纤,实现低插入损耗传输。
2. 衰减调节状态:对MEMS芯片施加电压,其反射镜面发生微小偏转,使反射光路产生偏移。经透镜后,光束以微小偏移量会聚到输出光纤端面,仅部分光被耦合,从而实现光功率的衰减。衰减量与驱动电压成正比,实现连续可调。
3. WDL补偿机制:由于双光纤头与TO组件间存在倾角θ,入射光和反射光在透镜中呈离轴传播状态。不同波长的光在透镜中的折射率略有不同(材料色散),离轴状态放大了这种差异对最终耦合效率的影响,并通过对角度的优化设计,使得这种影响恰好补偿了器件本身因波长带来的损耗差异,从而显著降低整体WDL值。
1. 结构简单,无需新增部件:仅通过调整现有组件(双光纤头与TO封装)的对接角度实现补偿,未增加任何光学或机械零件,保持了MEMS VOA固有的紧凑性。
2. 工艺可行性高:角度通过预制玻璃套管确定,并用环氧树脂胶水固化,工艺步骤与传统装配兼容,易于实现高精度、大批量生产,良率高。
3. 性能全面提升:
o WDL补偿效果好:有效降低器件在不同波长下的损耗差异。
o 回波损耗优:光纤端面仍可采用常规处理,不影响回波损耗性能,满足系统要求。
o 成本低廉:避免了使用特殊光学元件或复杂调芯工艺,制造成本可控。
4. 适用范围广:特别适用于对WDL指标要求严苛的高速光通信系统、DWDM系统及精密光学测试仪表等领域。
对于像广西科毅光通信这样的设备制造商与方案提供商而言,关注并集成此类先进、实用的器件技术至关重要。具备优良WDL性能的可调光衰减器,能够:
提升光开关矩阵、光线路保护设备中光功率管理的精度与稳定性。
增强EDFA(掺铒光纤放大器)或ROADM(可重构光分插复用器)系统中各通道的平坦度。
为5G前传/回传网络、数据中心互连等高密度光互联场景提供更可靠的光功率调节手段。
我们始终相信,优秀的器件是构建稳定系统的基础。通过对上游核心器件技术的持续跟踪与理解,科毅光通信能够更好地为客户选型、设计并提供高性能、高可靠性的光开关、光衰减器及子系统解决方案。
这项关于WDL补偿的反射式可调光衰减器技术,为我们提供了一个极具启发性的案例:通过深刻理解光学原理,并对成熟产品进行巧妙而微小的结构改进,就能有效解决实际工程中的性能瓶颈。它体现了光器件设计中“简约而不简单”的智慧。
择合适的光开关等光学器件及光学设备是一项需要综合考量技术、性能、成本和供应商实力的工作。希望本指南能为您提供清晰的思路。我们建议您在明确自身需求后,详细对比关键参数,并优先选择像科毅光通信这样技术扎实、质量可靠、服务专业的合作伙伴。
访问广西科毅光通信官网www.coreray.cn浏览我们的光开关产品,或联系我们的销售工程师,获取专属的选型建议和报价!
(注:本文部分内容由AI协助习作,仅供参考)