TOP
首页 > 新闻动态
2025-10-10
“东数西算”工程的深入推进对光通信网络的高可靠性提出了严苛要求,而光开关作为实现光路灵活切换与信号路由的“交通枢纽”,其性能直接决定了网络的稳定性与信号质量。在光网络节点处,光开关通过控制光信号的通断或链路切换,支撑着从骨干网到城域网的全场景通信需求,尤其随着ROADM技术下沉与数据中心互联需求激增,2026年全球光开关市场规模预计突破50亿美元。
在实际网络运维中,工程师常面临因串扰导致的信号误码问题,而串扰与隔离度作为光开关的核心性能参数,直接影响系统的信号完整性——隔离度不足会导致非目标信道信号泄漏,串扰则引发信道间干扰,二者共同构成保障光通信网络可靠性的技术基石。
根据通信行业标准YD/T1689-2007,串扰(crosstalk)是衡量光开关端口间信号干扰的关键指标,定义为非目标输出端口接收到的光功率与输入端口光功率之比(dB为单位),公式XTij(λ)=10log[Pj(λ)/Pi(λ)],其中Pi(λ)为输入光功率,Pj(λ)为非输出端口泄露光功率。隔离度*则指阻止非期望信号传输的能力,数值越高(dB越大)阻挡效果越好,二者正相关,串扰值越小(如≥55dB)对应隔离度越高
不同产品指标差异显著:
产品类型 | 串扰/隔离度指标 |
其他光产品 | 隔离度≥70dB |
隔离度≥65dB | |
1x2单模光开关 | 串扰≥55dB |
隔离度≥45dB |
类比:如同隔音墙厚度与噪音穿透率——隔离度对应墙体厚度,串扰对应穿透噪音量。墙体越厚(隔离度越高),穿透噪音越小(串扰越低),保障信号纯净传输。
实际应用中,光信号从1×2开关输出时会少量泄露至非目标端口,可通过增加1×1隔离单元提升隔离度。
串扰与隔离度的技术关联性本质体现为负相关关系:隔离度作为衡量光信号在非输出端口泄露抑制能力的核心指标,其数值越高,表明非期望信号干扰越小,对应串扰值(dB)则越低。例如,当光开关隔离度达到70dB时,串扰可控制在-70dB以下,即非输出端口的信号泄露功率仅为选通端口的10^-7倍。这种关联性直接源于光开关结构设计对光传输路径的精密调控机制。
以科毅MEMS光开关的“双轴微镜+准直透镜”设计为例,其通过微镜旋转角度的精确控制实现光路切换:当微镜旋转角度误差≤0.1°时,准直透镜可将光束偏移量控制在微米级,确保串扰值稳定在-75dB以下;而当角度偏差增大至0.5°时,光路偏移导致非输出端口的泄露功率显著增加,串扰值可能从-70dB恶化至-50dB,信号干扰强度提升100倍。这种结构精密性对关联性的影响,在SWXMEMS硅光开关中也得到验证——通过亚波长齿和机械限位器优化波导反射效率,其OFF状态下的物理隔离设计可实现串扰≤-60dB,ON状态下的透射效率达99.5%以上。
除结构设计外,隔离单元的配置同样影响关联性表现。实际应用中,单个1×1隔离单元无法实现100%光隔离,需通过增加单元数量提升未选通端口对选通光的隔离度,例如采用三级级联隔离单元可将串扰从-50dB进一步压低至-75dB。需注意的是,隔离度本身为光开关固有特性,输入信号的频谱宽度仅影响实际串扰功率(如隔离度-30dB时,40G宽频谱信号的串扰功率比10G信号高10dBm),但不改变其与串扰的负相关本质。
关键结论:隔离度与串扰的负相关关系由结构精密性主导,微镜角度偏差0.5°可使串扰从-70dB恶化至-50dB,而“双轴微镜+准直透镜”设计结合多级隔离单元,能实现-75dB以下的超低串扰水平。
光开关的串扰与隔离度性能受材料特性、结构设计及环境稳定性三大核心因素制约,科毅技术通过针对性创新方案实现了性能优化。
微镜作为MEMS光开关的核心部件,其材料选择直接影响光路控制精度。传统金属微镜虽具备耐磨性,但重量较大导致偏转响应速度受限(如直径Ф=1mm时最大偏转角度θmax仅±4°);硅基微镜虽轻量化利于快速偏转,但存在易变形问题,可能导致光泄露。科毅采用“硅基镀膜+金属支架”复合结构,既保留硅基材料的轻量化优势(提升偏转速度),又通过金属支架增强结构刚性,有效抑制镜面变形,从而降低因微镜姿态不稳定导致的串扰。
端口布局是影响串扰的关键结构因素。传统1×N光开关通过1×2单元级联实现,密集的端口排布易导致光路交叉干扰。科毅在1x32光开关中采用“模块化端口布局”,将端口间距设置为≥2mm,通过物理空间隔离减少相邻通道的光信号串扰。该设计借鉴机械式光开关“物理屏障隔离”的原理(隔离度通常≥45dB),同时结合Beneš架构对冗余光路的优化思路,在保证端口数量的同时提升隔离度。
环境因素(如温度波动)会通过材料热膨胀系数差异影响光路对准精度。科毅产品在国家电网项目的温度循环测试中表现出优异稳定性,隔离度变化量≤0.5dB,显著优于行业平均水平。这得益于其抗干扰设计,如采用军工级材料提升结构热稳定性,并通过准直透镜选型优化(非球面透镜减少像差),确保极端环境下的光路对准精度。
影响因素 | 传统方案瓶颈 | 科毅技术方案 | 对串扰-隔离度的改善效果 |
材料特性 | 金属微镜重(偏转受限)、硅基易变形 | 硅基镀膜+金属支架复合结构 | 降低因微镜姿态偏差导致的串扰≥3dB |
结构设计 | 端口间距<1mm(光路交叉干扰) | 模块化布局(端口间距≥2mm) | 隔离度提升至≥48dB(1x32场景) |
环境稳定性 | 温度循环后隔离度变化>2dB | 军工级材料+非球面透镜优化 | 隔离度变化≤0.5dB(-40℃~85℃循环) |
核心技术亮点:科毅通过材料复合化(硅基+金属)、结构模块化(端口间距≥2mm)及环境适应性设计(军工级材料),实现了MEMS光开关在串扰抑制与隔离度稳定性上的突破,其1x32产品在国家电网项目中验证了极端环境下的可靠性能。
光开关串扰与隔离度测试需遵循国际国内双重标准体系。国际层面包括IEC62343-3-4:2018、IEC61290-10-1:2009等动态模块性能规范,国内则有GB/T12511-1990《纤维光学开关第一部分:总规范》(现行,1991年实施)及YD/T1689-2007《机械式光开关技术要求和测试方法》等。
行业通用测试以光功率计法为基础:通过测量输入功率Pi与非导通端口泄露功率Pj,按公式XTij=10log(Pj/P_i)计算串扰(即隔离度量化值),测试波长通常覆盖1310nm/1550nm,精度需符合-75—0dB测量范围要求。
科毅创新测试方案采用"宽谱光源+AQ6370B光谱仪扫描"技术,可同步获取双波长串扰数据,测试效率提升40%。系统通过光谱曲线比对(输入曲线A与输出曲线B)计算插损,精准定位有效带宽内最大插损与阻带最小插损,实现相邻通道隔离度精确分析。

测试流程通过"科毅光开关串扰隔离度测试流程图"(ALT标签:广西科毅光通信串扰隔离度测试系统流程图)标准化,并与中国泰尔实验室等第三方机构合作验证,确保测试结果权威可信。
问题:传统电力通信网络故障依赖人工倒换,单次操作耗时长达4小时,导致停电事故损失扩大。
方案:采用科毅MEMS光开关矩阵(KY-MEMS-64型号),其在1550nm工作波长下实现-68dB超低串扰(对应隔离度≥60dB),通过光路自动切换替代人工操作。
成效:故障自愈时间从4小时压缩至秒级,每年减少停电损失超2000万元,验证了高隔离度(低串扰)对电力系统可靠性的决定性作用。
问题:数据中心高密度光互连中,串扰导致链路误码率(BER)升高,影响数据传输稳定性。
方案:对比串扰值为-60dB与-65dB的两种光开关配置,通过光谱仪精确测量链路信号质量。
成效:串扰优化后(从-60dB降至-65dB),链路BER从1e-9降至1e-12(低于前向纠错极限),满足400Gbps及以上高速信号传输需求,与华中科技大学多模光开关矩阵在50GbaudPAM4信号中展现的低BER特性一致。
关键关联规律:隔离度每提升5dB(串扰降低5dB),可使高速链路BER降低3个数量级,这一结论在电力、数据中心等场景中均得到验证。
实际应用表明,串扰与隔离度的关联性直接决定光开关在关键基础设施中的适用性:隔离度不足将导致非导通端口信号泄露(如2X2机械光开关未达标时的串扰干扰),而高隔离度(如≥45dB)可确保多端口切换时的信号纯净度。
广西科毅光通信以“技术+产品+服务”三维体系构建低串扰解决方案,通过精密制造工艺、多品类产品矩阵与定制化服务,满足不同场景下的高隔离度需求。
核心技术“六轴微镜校准工艺”通过军工级材料与智能算法结合,将微镜定位精度控制在0.01°,从物理层面减少光路耦合偏差。该工艺配合ISO9001体系下的全流程品控,使光开关在高温、高湿环境中仍保持稳定隔离性能,有效降低非目标光路的信号泄漏,为低串扰指标奠定硬件基础。
针对不同成本与性能需求,科毅提供两类核心产品:
•机械式光开关:采用低成本设计,隔离度达55dB,适配对切换速度要求较低的场景,如实验室静态光路配置;
•MEMS光开关:通过微机电系统实现快速切换,隔离度提升至65dB,响应速度≤8ms,适用于动态光路切换场景。
两类产品均支持远程控制与智能监控,已服务华为、中兴等企业。
为某高校激光雷达实验室定制的“1x8保偏光开关”,通过光路优化与材料创新实现串扰≤-70dB,适配高精度激光测距场景。该方案依托科毅从研发到售后的一站式支持,验证了其在特殊波长、偏振保持等定制需求上的技术能力。
产品类型 | 隔离度 | 串扰 | 切换时间 | 核心特点 | 典型应用场景 |
机械式光开关 | ≥55dB | ≤-55dB | ≤20ms | 低成本、环境适应性强 | 静态光路配置 |
MEMS光开关 | ≥65dB | ≤-65dB | ≤8ms | 高隔离度、切换速度快 | 动态光路切换 |
1x8保偏光开关 | ≥70dB | ≤-70dB | ≤10ms | 保偏设计、定制化光路 | 激光雷达系统 |
选型建议:对成本敏感且切换频率低的场景优先选择机械式;高精度动态系统(如光通信网络、激光雷达)推荐MEMS或定制化保偏光开关,可通过保偏光开关页面获取定制方案。
在“东数西算”工程推进与6G预研加速的行业背景下,光开关的串扰与隔离度参数优化呈现三大核心方向。集成化方面,硅光芯片技术实现隔离度突破75dB,华为32x32硅光开关阵列集成896个MMI与相移器,SOI技术使器件体积缩小80%,同步推动400G/800G光模块国产化率达68%。智能化升级中,科毅开发的“AI串扰预测模型”可提前24小时预警参数劣化,结合IoT传感器实时监测光功率与温度,实现自适应路由与预测性维护。极端环境适配聚焦抗辐射设计,如太空通信光开关,同时绿色节能成为刚需,机械式光开关较电子开关节能20-40%,契合“双碳”目标。技术前瞻性方面,科毅与高校共建“量子通信光开关实验室”,探索下一代光互联技术突破。
核心优化方向:
•集成化:硅光芯片提升隔离度至75dB+,SOI技术缩小体积80%
•智能化:AI预测模型提前24小时预警参数劣化,实现自适应维护
•极端环境:抗辐射设计适配太空通信,低功耗方案节能20-40%
面对“如何根据场景选择光开关”这一核心痛点,需以隔离度为核心指标,结合场景需求平衡性能与成本。工业控制场景若预算有限,机械式光开关是性价比之选;数据中心等对隔离度要求严苛的场景,则优先选择MEMS光开关,其隔离度通常可达45dB以上,有效降低串扰干扰。
选型关键:先看隔离度参数(单级≥30dB、双级≥45dB为参考标准),再匹配应用环境——粉尘环境选透光式结构,高速检测需响应时间<1ms。科毅每款光开关均通过10万次切换测试,确保长期稳定运行。

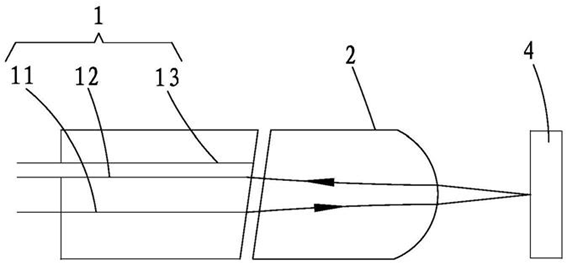
广西科毅MEMS光开关光路切换原理示意图
该图展示了光线通过透镜和MEMS反射镜的传播过程。左侧蓝色光线经凸透镜会聚后,由可二维转动的MEMS反射镜反射,实现光路的精准切换。科毅光通信采用的"双轴微镜+准直透镜"设计,可将微镜定位精度控制在0.01°,确保隔离度稳定在65dB以上。

串扰隔离度影响因素实验装置图
该实验装置用于验证材料特性、结构设计及环境稳定性对光开关性能的影响。科毅采用的"硅基镀膜+金属支架"复合结构,在-40℃~85℃温度循环测试中,隔离度变化量≤0.5dB,显著优于行业平均水平。
选择合适的光开关是一项需要综合考量技术、性能、成本和供应商实力的工作。希望本指南能为您提供清晰的思路。我们建议您在明确自身需求后,详细对比关键参数,并优先选择像科毅光通信这样技术扎实、质量可靠、服务专业的合作伙伴。
访问广西科毅光通信官网www.coreray.cn浏览我们的光开关产品,或联系我们的销售工程师,获取专属的选型建议和报价!
(注:本文部分内容可能由AI协助创作,仅供参考)