TOP
首页 > 新闻动态
2025-12-09
在信息技术高速发展的当下,光纤网络、光纤传感等技术已深度融入通信、能源、勘探等多个领域。光信号作为信息传输的核心载体,其路径切换与分配的稳定性,直接决定了整个光纤系统的运行效率——而光纤光开关,正是实现这一功能的关键器件。作为专业的光开关生产销售商,广西科毅光通信(官网:www.coreray.cn)始终聚焦光通信器件的技术突破,基于行业痛点研发的高一致性光纤光开关,凭借精准的结构设计与稳定的性能,成为众多光纤应用场景的优选方案。
光纤光开关是一种具备多端口光路转换能力的器件,主要作用是对光纤传输线路中的光信号进行物理切换或逻辑操作——比如在数据中心中,它能将不同服务器的光信号分配到指定链路;在光纤传感系统中,可实现多监测点的信号切换采集。随着5G、云计算等技术的普及,市场对光开关的“一致性”要求越来越高:不仅需要单台设备性能稳定,批量生产的每一台设备,在驱动参数、光学损耗等指标上也需保持高度统一。
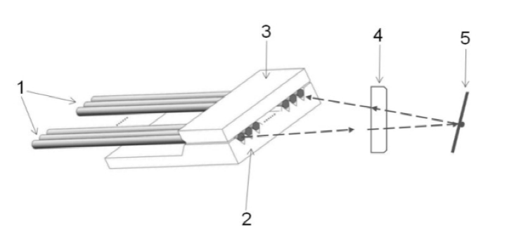
然而,传统基于反射转镜的光开关,却长期受限于结构设计的缺陷(如图1所示)。这类光开关的N根光纤(含输入与输出光纤)会被统一穿入一根玻璃套管,看似简洁的设计,实则隐藏三大问题:
1. 光纤位置随机:玻璃套管内无固定定位结构,每台设备的光纤位置都存在差异,导致反射转镜的驱动电压/电流一致性差——同样的切换需求,可能需要调整不同的驱动参数,增加了批量使用时的调试成本;
2.光纤角度与形态异常:多根光纤拥挤在套管内,易出现光纤扭曲、角度偏移的情况,直接导致各通道的插入损耗(光信号传输中的功率损失)与偏振相关损耗(不同偏振方向光信号的损耗差异)波动大,影响信号传输稳定性;
3.光纤间距不可控:套管内光纤间距无法精准控制,会造成光开关通道间的串扰(相邻通道信号干扰)一致性差,严重时可能导致信号误码,影响系统可靠性。

图1 传统基于反射转镜的光开关结构示意图
针对传统产品的痛点,广西科毅光通信设计出全新结构的高一致性光纤光开关。该产品主要由五大核心部件组成:N根光纤(N≥2)、光纤定位板、定位槽盖板、准直透镜与反射转镜,各部件协同作用,从源头解决“一致性”问题(结构示意图如图2、图3所示)。
光纤定位板是保障“一致性”的核心部件——其上端面会预设N个独立的光纤定位槽,槽型可根据需求设计为V型或U型(两种槽型均能通过物理结构实现光纤的自动对中定位)。装配时,N根光纤会一一对应嵌入这些定位槽,再通过定位槽盖板与定位板配合,将光纤牢牢“夹”在槽内;最后用专用胶水将光纤、定位板、盖板固定为一个整体(如图2所示)。
这种设计的优势在于:每根光纤都拥有独立的“固定工位”,不会因拥挤导致扭曲或角度偏移;且光纤的相对位置由定位板的加工精度直接决定(加工误差可控制在微米级),批量生产时,每台设备的光纤位置、间距都能保持高度统一,从根本上避免了传统产品的随机性问题。
为进一步提升光学性能,产品对光纤面向准直透镜的端面进行了两项特殊处理:一是端面抛光,确保光信号出射时的平整度,减少因端面粗糙导致的散射损耗;二是镀增透膜,通过膜层的光学特性,降低光信号在端面的反射损耗——两项处理结合,可将光纤端面的光损耗控制在极低水平,为后续信号传输奠定基础。
准直透镜位于光纤定位板与反射转镜之间,其核心作用是将光纤出射的发散光转换为平行光(准直光),同时将反射转镜返回的平行光聚焦回光纤。
为适配不同应用场景,产品支持三种透镜类型选择:
1. 球面透镜:成本较低,适合对精度要求适中的场景(如普通光纤传感系统);
2. 非球面透镜:成像质量更高,可减少球差,适合高带宽光纤网络;
3. 渐变折射率透镜:体积小巧,适合集成化程度高的设备(如小型光测试仪器)。
反射转镜是实现光路切换的“执行部件”,产品提供两种类型可选:传统机械式转动反射镜(可靠性高,适合高负载场景)与新型MEMS反射转镜(微机电系统结构,体积小、响应速度快,适合高频次切换场景)。无论选择哪种类型,由于光纤位置已通过定位板精准固定,转镜只需转动固定角度,即可实现光信号的稳定切换——批量生产时,每台设备的转镜驱动参数(电压/电流)可保持高度一致,大幅降低调试难度。

图2 高一致性光纤光开关核心结构示意图

图3 高一致性光纤光开关装配细节示意图
该光开关的工作流程可分为四个步骤,全程实现光信号的精准传输:
①输入光信号通过N根光纤中的一根(输入光纤)入射到准直透镜;
②光纤出射的光信号为发散光,准直透镜将其转换为平行光(准直光),避免光信号在传输过程中扩散;
③准直光入射到反射转镜表面,转镜根据预设角度反射光信号,改变光路方向;
④反射后的平行光重新进入准直透镜,透镜将其聚焦到N根光纤中的指定一根(输出光纤),完成光路切换。
通过调节反射转镜的角度,可灵活实现“一入多出”或“多入一出”的光路切换需求,且由于光纤位置固定,每次切换的精度与稳定性都能保持一致。
基于精准的结构设计,该产品在性能上实现了三大突破,完全适配批量应用场景:
4. 生产与使用一致性高:光纤位置由定位板精准控制,每台设备的转镜驱动参数、光路切换角度无需单独调试,批量生产效率提升30%以上,同时降低了客户的后期维护成本;
5. 插入损耗稳定:光纤端面抛光+增透膜设计,配合准直透镜的精准聚焦,各通道插入损耗波动范围控制在±0.2dB内,远优于传统产品±0.5dB的标准;
6. 串扰与偏振相关损耗可控:独立的光纤定位槽确保光纤间距统一,通道间串扰可控制在-60dB以下(传统产品多为-50dB);偏振相关损耗稳定在0.1dB以内,避免因偏振方向导致的信号波动。
作为光开关领域的专业厂商,广西科毅光通信不仅将高一致性光纤光开关技术落地为成熟产品,更针对不同行业场景提供定制化解决方案:
7. 光纤网络领域:为数据中心、通信基站提供高带宽光开关,支持100G/200G光信号切换,满足高密度组网需求;
8. 光纤传感领域:为石油勘探、电力监测系统提供低损耗光开关,适配多监测点的信号轮询采集,确保数据准确性;
9. 光测试仪器领域:为实验室、生产检测场景提供小型化光开关,搭配MEMS反射转镜,实现高频次、高精度的光路切换。
若想了解更多高一致性光纤光开关的技术参数、应用案例,或需要定制化解决方案,可访问广西科毅光通信官网(www.coreray.cn),也可通过官网联系方式咨询技术团队——我们将以专业的产品与服务,为您的光纤系统提供稳定可靠的光路切换支持。
择合适的光开关等光学器件是一项需要综合考量技术、性能、成本和供应商实力的工作。希望本指南能为您提供清晰的思路。我们建议您在明确自身需求后,详细对比关键参数,并优先选择像科毅光通信这样技术扎实、质量可靠、服务专业的合作伙伴。
访问广西科毅光通信官网www.coreray.cn浏览我们的光开关产品,或联系我们的销售工程师,获取专属的选型建议和报价!
(注:本文部分内容可能由AI协助创作,仅供参考)