TOP
首页 > 新闻动态
2025-11-18
在数据通信高速发展的当下,光纤数量激增推动了光纤动态连接的迫切需求,光开关作为实现光纤之间灵活切换的核心设备,已成为下一代通信网络的关键组成部分。从早期的简单切换结构到如今的高精度矩阵式设计,光开关技术历经多轮迭代,而交叉矩阵光开关凭借“任意输入端口到任意输出端口”的灵活切换能力,逐渐成为行业主流选择。本文将深度解析光开关的技术发展脉络、现有主流类型的核心差异,以及交叉矩阵光开关的技术革新背景,助力行业用户全面了解光开关技术的现状与趋势。
随着5G、云计算、大数据等技术的普及,通信节点的数据传输量呈指数级增长,单一光纤链路已无法满足多设备、多路径的动态连接需求。光开关作为光网络中的“路由转换器”,能够实现光信号在不同光纤链路间的快速、稳定切换,广泛应用于数据中心、光纤通信网络、光纤测试系统等场景。
在实际应用中,用户对光开关的核心诉求集中在三点:一是切换稳定性,确保光信号传输过程中插入损耗小、信号无失真;二是结构可靠性,减少故障概率,降低维护成本;三是扩展灵活性,支持多输入、多输出端口的灵活配置。然而,传统光开关技术在满足这些需求时存在明显短板,推动了交叉矩阵光开关的技术革新。
目前行业内的光开关,依据开关单元数量和结构形态,主要分为M+N型、M×N型(交叉矩阵型)和M型三类。三类光开关在开关单元数量、切换状态数、控制难度、可靠性等方面差异显著,以下将结合结构原理与实际应用场景展开详细对比。
M+N型光开关的核心设计的是“输入单元+输出单元”的独立配置,其结构如图1所示。

图1 现有技术中的M+N型交叉矩阵光开关
该类型光开关包含M个输入开关单元与M个输入端口一一对应,同时配备N个输出开关单元与N个输出端口匹配。从切换逻辑来看,每个输入开关单元需要支持N个切换状态,每个输出开关单元需要支持M个切换状态,整个系统的总切换状态数达到2M×N,是三类光开关中状态最复杂的类型。
在驱动技术方面,M+N型光开关主要采用两种方案:一是以CalientNetworksInc.产品为代表的Mems驱动方式,二是以Polatis公司为代表的压电陶瓷驱动方式。无论采用哪种驱动技术,由于每个开关单元需精确控制M×N个状态,必须通过反馈光回路来保证控制精度,这直接导致光开关系统结构复杂、体积庞大,不仅增加了制造成本,还降低了设备的便携性。
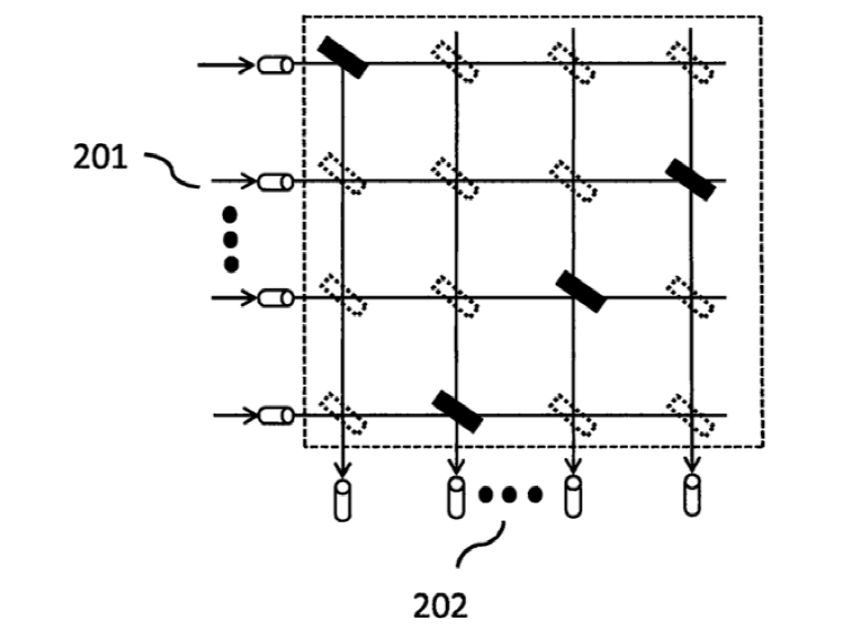
M×N型光开关同样属于交叉矩阵型设计,其输入端口阵列与输出端口阵列相互垂直,形成交叉矩阵结构,如图2所示。

图2 现有技术中的M型交叉矩阵光开关,单个平面镜作为开关单元
该类型光开关的核心特点是“一个交叉点一个开关单元”,每个开关单元仅需实现“开”和“关”两种状态(图中以45度倾斜的实框和虚框区分),总切换状态数同样为2M×N。相比M+N型光开关,M×N型的优势在于开关单元状态简单,易于制造和控制,无需额外的光反馈回路即可满足插入损耗的基本要求。
但M×N型光开关的致命缺陷是开关单元数量过多(共M×N个),一旦某个开关单元失效,整个光开关器件将直接瘫痪。这一问题导致M×N型光开关的良率和可靠性极低,在对稳定性要求较高的通信网络、数据中心等场景中,应用受到极大限制。目前行业内常见的驱动方式包括美国专利4988157提出的气泡驱动,以及欧洲专利申请EP1120677A2提出的MES矩阵驱动,但均未解决开关单元过多导致的高故障率问题。
M型光开关同样采用交叉矩阵型配置,与M×N型的核心区别在于开关单元数量的精简——仅使用与输入端口数量相同的M个开关单元,每个开关单元可选择N个位置,对应N个输出端口,总切换状态数为M×N。
从结构逻辑来看,M型光开关可通过图2(原资料说明书附图2)辅助理解:实框代表开关单元的实际位置,虚框代表开关单元可移动到达的位置。这种设计的优势在于开关单元数量和状态数大幅减少,理论上能够实现更高的良率和可靠性,制造成本也相对较低。
但M型光开关存在一个核心技术短板:开关单元(即反射镜)需要在N个位置间来回移动切换,而反射镜的角度难以在移动机械结构上保持高度稳定。这一问题直接导致光路切换的稳定性和可靠性差,插入损耗较大,无法满足高精度通信场景的需求。
光开关类型 | 开关单元数量 | 总切换状态数 | 控制难度 | 可靠性 | 插入损耗 | 适用场景 |
M+N型 | M+N个 | 2M×N | 高 | 中 | 低(需反馈回路) | 特殊高精度测试场景 |
M×N型 | M×N个 | 2M×N | 低 | 低 | 中 | 短距离低要求连接 |
M型 | M个 | M×N | 中 | 中低 | 高 | 低成本临时连接 |
通过上述对比可以发现,现有三类光开关均存在明显缺陷:M+N型结构复杂、成本高;M×N型可靠性低、故障率高;M型稳定性差、插入损耗大。行业迫切需要一种能够兼顾“开关单元数量少、切换稳定性高、可靠性强”的光开关技术。
交叉矩阵光开关的技术革新核心,正是针对现有技术的痛点,通过优化开关单元结构、改进角度对准方式,在精简开关单元数量的同时,提升光路切换的稳定性和可靠性。下一篇文章将详细解析交叉矩阵光开关的核心技术设计,包括转向反射镜的创新结构、角度对准的两种实现方案,以及具体实施案例的技术细节,带您深入了解这一光开关技术的突破点。
择合适的光开关是一项需要综合考量技术、性能、成本和供应商实力的工作。希望本指南能为您提供清晰的思路。我们建议您在明确自身需求后,详细对比关键参数,并优先选择像科毅光通信这样技术扎实、质量可靠、服务专业的合作伙伴。
访问广西科毅光通信官网www.coreray.cn浏览我们的光开关产品,或联系我们的销售工程师,获取专属的选型建议和报价!
其他相关文章: