TOP
首页 > 新闻动态
2025-12-03
在自主驾驶、激光雷达(Lidar)等新兴技术快速发展的今天,光开关作为光子集成电路(PIC)的核心组件,承担着光信号引导、发射与切换的关键作用。传统波束控制方案(如微镜阵列、光学相控阵)面临视场有限、控制复杂、对激光器要求苛刻等痛点,而MEMS(微机电系统)光开关凭借紧凑结构、快速切换、高消光比等优势,成为芯片级激光雷达(固态激光雷达)的理想选择。广西科毅光通信深耕光通信领域,将专利级MEMS光开关技术落地量产,为行业提供高效、稳定的光开关解决方案。
相较于传统光开关(热光开关、液晶开关等),MEMS光开关在性能上实现多重突破,尤其适配激光雷达等高精度场景:
1. 耦合效率可控:开启状态下总线波导与耦合波导/光学天线耦合效率≥50%,关闭状态≤1%,信号切换精准无干扰;
2. 切换速度快:依托MEMS静电致动器与轻量化耦合器设计,切换响应速度满足激光雷达高频工作需求;
3. 结构紧凑:单片集成于PIC芯片,可形成二维阵列布局,大幅节省安装空间;
4. 控制简单:无需复杂电子器件,支持行/列寻址或子阵列同步控制,降低系统集成成本;
5. 稳定性强:采用固定光学天线+可移动耦合器设计,避免机械磨损,延长使用寿命。
MEMS光开关的核心设计围绕“电压控制距离、距离调节耦合效率”展开,主要包含三种专利结构方案,均已通过广西科毅光通信技术验证:
核心组成包括基板支撑的总线波导、致动电极与反应电极。致动电极带有垂直于基板的鳍部,与反应电极的叉指鳍部形成梳状驱动器,通过电压差控制反应电极位置:
6. 电压差<下阈值(接近0V或±5V以内):反应电极距总线波导为第一距离(≥650nm),光信号沿总线波导无干扰传输,开关处于关闭状态;
7. 电压差>上阈值:反应电极移动至第二距离(≤180nm),光信号高效耦合至耦合波导或光学天线,开关处于开启状态。

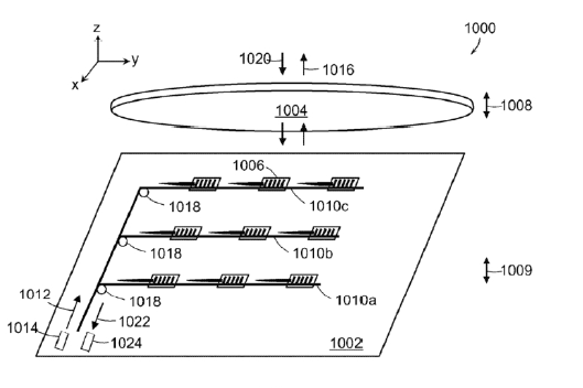
图1 光开关阵列系统的顶视图

图2 光开关阵列系统的侧视图
在基础结构上增加排斥电极,与致动电极配合形成“吸引力+排斥力”双控机制:
8. 致动电极与反应电极施加相反极性电压(产生吸引力),排斥电极与反应电极施加相同极性电压(产生排斥力);
9. 当吸引力<排斥力时,反应电极保持第一距离(关闭状态);当吸引力>排斥力时,反应电极移动至第二距离(开启状态);
10. 部分方案增设光电检测器与闭环反馈机制,实时调节电压差,确保耦合效率稳定。

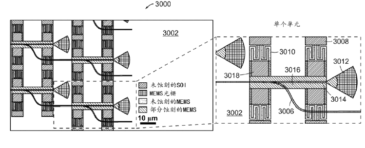
图3 在悬置层上具有可移动光耦合器并且在基板层上具有固定光学天线的开关阵烈布局的顶视图,其中详细说明了单个元件
通过总线波导分路、光开关阵列布局,实现二维波束控制,核心组成包括:
11. 固定光学天线阵列(可按行/列选择性启用);
12. 悬挂式耦合波导(与反应电极同步移动);
13. 多组致动电极(独立控制单个或子阵列开关);
14. 支持发射、接收或收发一体模式,适配激光雷达ToF(飞行时间)与FMCW(调频连续波)操作。

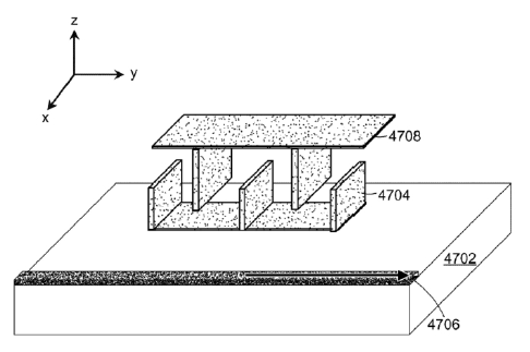
图4 在开关阵列中具有光耦合悬臂和固定光学天线的光开关的透视图

图5 二维固定光学天线的透视图
15. 光学天线:采用光栅结构,可设计为单行/单列或二维阵列,固定于基板层(避免移动影响性能),支持光信号在自由空间的定向发射/接收;
16. 耦合波导:悬挂于总线波导上方,采用渐变锥形设计(尖端宽度0.08-0.2μm,基部0.2-0.5μm),缩短耦合长度并降低传输损耗。

图6 总线波导和对应的耦合器波导的透视图
17. 静电致动:通过电极间电压差产生静电力,驱动耦合波导/反应电极移动,电压需求低(典型值40V可实现620nm位移);
18. 非机械限位:采用静电悬浮或梳状驱动器替代传统机械限位器,避免摩擦磨损,延长使用寿命。
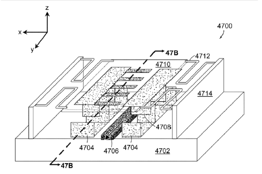
图7 具有梳状驱动器的开关的透视图,该梳状驱动器用于控制总线波导与光栅之间的耦合距离

图8 沿着图45A的切口的横截面图,其图示了梳状驱动器
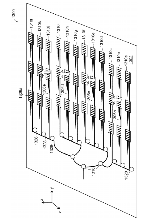
19. 行/列寻址:M×N阵列仅需M+N个控件,通过激活目标行与列的电极实现单个开关启动(如图7);

图9 被配置成独立寻址行和列的开关阵列系统的示图
20. 子阵列同步:支持多个子阵列同时启动,适配大范围波束扫描需求(如图8);

图10 被配置成同时寻址子阵列的开关阵列系统的示图
21. 分路树组合:结合分路树与二元开关,实现光功率均匀分配或选择性引导(如图11、12)。

图11 包括分路树(splitter tree)和光开关的光开关阵列系统的透视图图

图12 包括分路树和至少两种类型的光开关的光开关阵列系统的透视图
广西科毅光通信通过大量实验验证,MEMS光开关关键性能指标如下:
性能参数 | 数值范围 | 测试条件 |
耦合效率(开启状态) | ≥50% | 间隙180nm,锥形长度7.5μm |
耦合效率(关闭状态) | ≤1% | 间隙≥650nm |
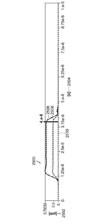
切换速度 | 微秒级 | Z轴位移响应(如图15) |
传输损耗 | <0.15dB | 波长1.52-1.6μm(如图14) |
工作电压 | <50V | 静电致动模式 |
天线发射角 | 可定制 | 支持0-60°调节(如图16) |

图13 耦合效率关于耦合锥形(taper)长度的图形表示

图14 传输损耗关于波长的图形表示

图15 沿Z轴的位移关于切换速度的图形表示

图16 强度关于发射角的图形表示
MEMS光开关凭借高可靠性与灵活适配性,已广泛应用于:
1. 芯片级激光雷达:适配自主车辆、无人机的环境感知系统,实现大范围、高精度波束扫描;
2. 光通信设备:作为光子集成电路的核心切换组件,用于数据中心、光纤通信的光信号路由;
3. 传感系统:工业传感、生物传感等领域的光信号精准控制与传输;
4. 军工电子:小型化、高稳定性需求的特种光电子设备。

图17 接收和发射光信号的光开关阵列系统的透视图
广西科毅光通信(官网:www.coreray.cn)专注光开关、光耦合器等光通信核心器件的研发与量产,依托专利级MEMS技术,实现从芯片设计、封装测试到系统集成的全链条服务。公司产品通过严苛环境测试,适配-40℃~85℃工作温度范围,已为多家激光雷达厂商、通信设备商提供定制化解决方案。
我们始终以“技术创新驱动产品升级”为核心,持续优化MEMS光开关的耦合效率、切换速度与稳定性,助力客户攻克技术痛点,提升产品竞争力。
择合适的光开关及光衰减器等光学器件是一项需要综合考量技术、性能、成本和供应商实力的工作。希望本指南能为您提供清晰的思路。我们建议您在明确自身需求后,详细对比关键参数,并优先选择像科毅光通信这样技术扎实、质量可靠、服务专业的合作伙伴。
访问广西科毅光通信官网www.coreray.cn浏览我们的光开关产品,或联系我们的销售工程师,获取专属的选型建议和报价!