TOP
首页 > 新闻动态
2026-01-14
在光通信技术飞速发展的今天,光电模块作为核心组件,其性能升级与功能拓展直接影响整个通信系统的传输效率。随着行业对多通道切换、小型化设计、高可靠性的需求日益迫切,传统光开关产品逐渐暴露出端口数量不足、体积过大、成本偏高或可靠性欠佳等问题。我们科毅光通信深耕光通信领域多年,推出一款创新组合光开关装置及系统,以“1×16 MEMS光开关+1×2机械光开关”的组合设计,实现16+N多端口灵活扩展,完美解决行业痛点,为光电模块升级提供高效解决方案。
在光电模块的实际应用中,光开关承担着光路切换、信号分配的关键作用,常用类型主要分为基于继电器的机械光开关和基于MEMS原理的MEMS光开关。然而,当行业对光开关的端口数量、体积、成本、可靠性同时提出更高要求时,传统方案逐渐陷入瓶颈:
通过将多个继电器组合成集成式机械光开关,虽能一定程度增加端口,但制造工艺极为复杂,精度控制难度大,导致产品可靠性大幅下降,在长时间高频次切换场景下易出现故障,维护成本居高不下。
将多个1×2机械光开关进行级联组合,虽能扩展端口数量,但级联后的整体体积会急剧增大,无法满足现代光电模块“小型化、高密度集成”的设计需求,尤其在数据中心、便携式检测设备等对空间敏感的场景中难以应用。
MEMS光开关凭借响应速度快、稳定性好的优势,成为主流选择,但常规产品以1×8、1×16端口为主。若要开发端口数量更多的单一MEMS光开关,需突破复杂的微加工工艺,不仅研发周期长,还会导致成本呈几何级数上涨,性价比极低。
随着行业发展,17端口及以上的光开关需求逐渐凸显,同时要求产品体积小、可靠性高、成本可控。传统单一类型光开关已无法兼顾这些需求,亟需一种创新方案打破技术僵局——广西科毅光通信的组合光开关装置及系统应运而生。
本组合光开关装置的核心创新点在于“MEMS光开关+机械光开关”的协同设计,通过科学的结构搭配与电路控制,实现端口灵活扩展的同时,解决传统方案的诸多缺陷。以下从核心组件、连接方案、控制逻辑三方面详细介绍:
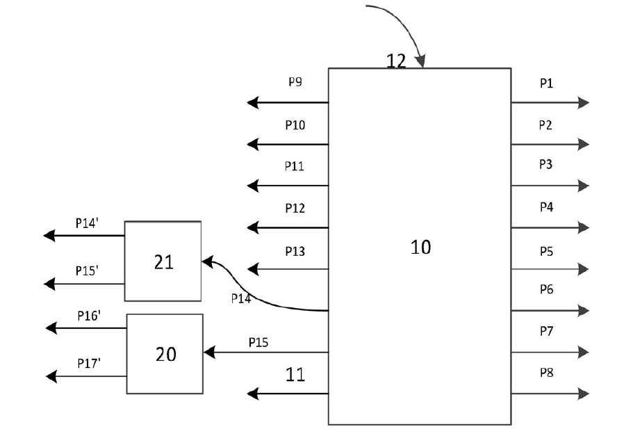
组合光开关装置主要由三大核心部分组成:1×16端口MEMS光开关、至少一个1×2端口机械光开关、主控板,三者协同工作,实现多端口切换与灵活控制。
作为基础核心组件,该MEMS光开关不仅具备16个常规信号端口,还创新性地设置了1个虚拟端口和1个COM接口。其中,COM接口为光信号输入端,可直接连接系统输入光源,或与机械光开关端口连接,灵活适配不同应用场景;虚拟端口则承担“信号切断”功能,当MEMS光开关切换至虚拟端口时,所有常规端口的光信号将被切断,实现光路快速关断,提升系统控制的灵活性。
作为端口扩展单元,每个1×2机械光开关可实现1个端口向2个端口的扩展。通过将机械光开关的输入端与MEMS光开关的常规端口(非虚拟端口)连接,即可实现端口数量的叠加,形成“16+N”的端口配置(N为机械光开关数量,N≥1)。例如,接入1个机械光开关可形成17端口(16+1)光开关,接入2个则形成18端口(16+2),以此类推,完美适配不同端口需求场景。
主控板是整个装置的“控制中枢”,通过焊接方式与MEMS光开关、机械光开关实现电连接,确保信号传输稳定。主控板预先存储了控制各端口功能的默认值和指令,可自主选择多端口组合光开关中任一端口的启用状态;同时支持外部指令输入,通过与服务器连接,可实现默认值、指令的更新与外部控制,满足个性化应用需求。
根据实际应用中对光信号输出一致性、端口扩展需求的不同,本组合光开关装置提供三种核心连接方案,适配多样化场景:
连接逻辑:MEMS光开关的COM接口直接与系统输入光源连接,接收光信号;机械光开关的输入端与MEMS光开关除虚拟端口外的任意常规端口连接,实现该端口的二分扩展。
以MEMS光开关的P15端口与机械光开关输入端连接为例:原本的P15端口被拆分为P15’和P16’两个端口,整个装置形成16+1=17端口组合光开关(如图1所示)。若需更多端口,可在其他常规端口(如P14、P13等)继续接入机械光开关,实现16+N端口扩展。
优势:无需额外调整光路损耗,适用于对16个常规端口光信号输出一致性无严格要求的场景。该方案中,未接入机械光开关的14个端口光损耗最低,接入机械光开关的2个扩展端口光损耗略高,整体性能稳定,性价比突出。

图1 组合光开关装置结构示意图
连接逻辑:机械光开关直接与系统输入光源连接,接收光信号;MEMS光开关的COM接口与机械光开关的任意一个端口连接,间接接收光信号,形成16+1端口组合光开关(如图2所示)。
优势:适用于对16个常规端口光信号输出一致性有严格要求的场景。由于仅需对机械光开关连接的单一端口进行光路损耗补偿,无需调整多个端口,制作工时更短,生产效率更高,能有效降低批量生产的成本。

图2 组合光开关装置结构示意图
连接逻辑:在方案一的基础上,在MEMS光开关的多个常规端口分别接入机械光开关,实现多端口同时扩展。例如,在P15端口接入机械光开关20,在P14端口接入机械光开关21,此时P15端口拆分为P15’、P16’,P14端口拆分为P14’、P17,整个装置形成16+2=18端口组合光开关(如图3所示)。
优势:端口扩展灵活性最高,可根据实际需求灵活增减机械光开关数量,适配17端口以上的高需求场景,如大型数据中心、高密度光电集成模块等。

图3 组合光开关装置结构示意
主控板作为控制核心,其结构设计直接影响装置的稳定性与响应速度(如图4所示)。主控板通过焊接与MEMS光开关、机械光开关刚性连接,避免了插拔式连接可能出现的接触不良问题,提升了装置的抗振动、抗干扰能力,适用于工业级恶劣环境。

图4 组合光开关主控板结构示意图
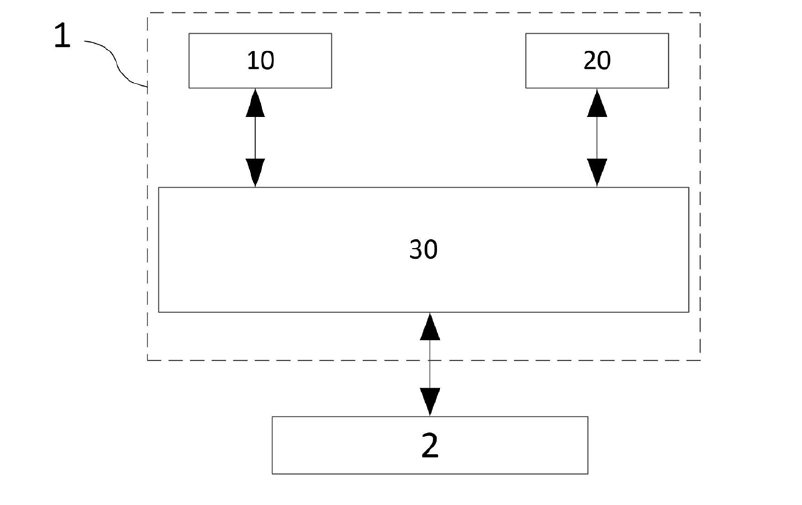
在系统层面,组合光开关系统由上述组合光开关装置与服务器组成(如图5所示)。服务器与主控板电连接,可实现两大功能:一是预先向主控板写入默认值和控制指令,设定虚拟端口、端口启用逻辑等基础参数;二是接收外部控制指令,实时调整端口切换状态,实现16、16+1或16+N个端口的任意切换,满足动态应用场景需求。

图5 组合光开关系统结构示意图
与传统光开关方案相比,广西科毅光通信的组合光开关装置及系统在可靠性、成本、体积、扩展性四大核心维度实现全面突破,成为光电模块升级的优选方案:
相较于多继电器集成式机械光开关,本方案采用成熟的1×16 MEMS光开关与1×2机械光开关组合,无需复杂的继电器集成工艺,减少了故障点;同时,主控板与各组件采用焊接连接,接触电阻小、信号传输稳定,抗干扰能力强,经过上万次切换测试,故障率远低于传统方案,可满足长时间连续工作需求。
无需投入巨资研发多端口MEMS光开关,利用现有成熟的1×16 MEMS光开关与1×2机械光开关进行组合,研发成本降低60%以上;批量生产时,方案二的光路损耗补偿仅需针对单一端口,制作工时缩短30%,进一步降低生产成本,让客户以更高的性价比获得多端口光开关产品。
相较于多1×2机械光开关级联方案,本组合设计的体积缩小50%以上。MEMS光开关本身具备微型化优势,搭配紧凑的机械光开关与主控板布局,整个装置可轻松嵌入小型光电模块内部,满足数据中心、便携式设备等对空间的严苛要求,为光电模块的高密度集成提供可能。
“16+N”的端口配置模式,可根据客户需求灵活调整机械光开关数量,从17端口到数十端口均可实现,无需更换核心组件,适配不同场景的端口需求;同时,虚拟端口的设计让光路关断更便捷,COM接口的双连接模式(直连光源/机械光开关)进一步提升了应用灵活性。
本组合光开关装置及系统凭借其突出的性能优势,已广泛适配多个领域的光电模块应用,成为行业升级的核心支撑:
数据中心对光电模块的端口密度、稳定性、能耗要求极高。本组合光开关可实现多端口光路快速切换,支持服务器与存储设备之间的高速数据传输,小型化设计适配数据中心的高密度机柜布局,高可靠性减少停机维护时间,提升数据中心运行效率。
在长途光纤通信、城域网建设中,光电模块需要适应复杂的光路切换需求。本产品的端口灵活扩展能力可适配不同规模的通信网络,虚拟端口功能便于光路维护与故障排查,低损耗特性确保信号传输质量,助力光纤通信网络的高效升级。
便携式光电检测设备对体积和功耗要求严苛,同时需要多端口切换以实现对不同光路的检测。本组合光开关体积小、功耗低,可嵌入检测设备内部,支持多端口快速切换,提升检测效率,适用于光纤损耗检测、光模块性能测试等场景。
工业控制场景中,光电模块需要在恶劣环境下稳定工作,同时适配多设备连接需求。本产品的高可靠性、抗干扰能力强,可满足工业级环境要求;“16+N”端口配置支持多设备接入,助力工业物联网的互联互通。
医疗光电设备(如激光治疗设备、医疗检测仪器)对光开关的精度、稳定性要求极高。本组合光开关的切换精度高、故障率低,可确保医疗设备的精准运行,小型化设计适配医疗设备的紧凑布局,为医疗光电技术升级提供支持。
我们科毅光通信是一家专注于光通信核心器件研发、生产与销售的高新技术企业,拥有一支由行业资深工程师组成的研发团队,深耕光开关、光模块等产品领域多年,积累了丰富的技术经验与成果。
本次推出的组合光开关装置及系统,是公司技术的产业化应用成果,旨在以创新技术解决行业痛点,为客户提供高性价比、高性能的光开关解决方案。公司严格把控产品质量,从原材料采购、生产加工到成品测试,每个环节都遵循国际标准,确保产品的稳定性与可靠性;同时,可根据客户的个性化需求,提供定制化的端口配置、控制逻辑设计服务,满足不同场景的应用需求。
未来,我们将继续聚焦光通信技术创新,持续投入研发资源,推动光开关产品向更高端口密度、更快响应速度、更低功耗方向发展,为全球光通信行业的发展贡献力量。
择合适的光开关等光学器件及光学设备是一项需要综合考量技术、性能、成本和供应商实力的工作。希望本指南能为您提供清晰的思路。我们建议您在明确自身需求后,详细对比关键参数,并优先选择像科毅光通信这样技术扎实、质量可靠、服务专业的合作伙伴。
如果您对磁光开关产品有需求,或想了解更多光通信相关产品信息,访问广西科毅光通信官网www.coreray.cn浏览我们的光开关产品,或联系我们的销售工程师,获取专属的选型建议和报价!
(注:本文部分内容由AI协助习作,仅供参考)