TOP
首页 > 新闻动态
2026-01-16
光通信行业在过去几年迎来了前所未有的发展机遇,随着5G网络建设的大规模推进和数据中心产业的蓬勃发展,光通信器件的需求量呈现出爆发式增长。光衰减器在光信号传输测试、光功率调节、光路保护等方面发挥着关键作用。
在现代光通信网络中,光信号强度的精确控制是确保系统稳定运行的核心要素之一。无论是光模块的研发测试阶段,还是在实际的网络维护过程中,都需要对光功率进行精细调节。光衰减器正是为此而设计的专用器件,它能够按照预定要求降低光信号的功率,同时保持光信号的其他特性基本不变。
从技术分类来看,光衰减器可以分为有源衰减器和无源衰减器两大类型。有源衰减器通常与其他热敏电阻配合使用,组成可变衰减器装置,主要应用于放大器内部的自动增益或斜率控制电路中。而无源衰减器则包括固定衰减器和可调衰减器,常见的有数字程控衰减器和膜片衰减器等。
在具体应用场景中,当接收机前端的信号功率过大时,及时接入衰减器可以避免过强的光信号损坏接收机的光电探测器;在线路传输测试中,通过添加衰减器可以模拟长距离传输带来的线路损耗,从而验证系统在实际部署环境中的性能表现。这些应用充分说明,光衰减器是光通信系统中不可或缺的保护和测试工具。
在众多的光衰减器产品中,FC机械式光衰减器以其独特的设计理念和优异的性能表现,在光通信测试领域占据了重要地位。相比数字程控衰减器和膜片衰减器,FC机械式光衰减器展现出多方面的技术优势。
首先,FC机械式光衰减器支持单模光纤和多模光纤两种光信号传输方式,这种良好的兼容性使其能够适应不同类型的光纤测试需求,大大提升了设备的通用性和使用便利性。在光模块的实际测试过程中,很多时候需要同时测试单模和多模光纤的传输性能,使用FC机械式光衰减器可以有效解决单多模通用的技术难题。
其次,FC机械式光衰减器具有成本相对较低、使用方便快捷的特点。与需要复杂电路控制的电子式衰减器相比,机械式衰减器的结构更加简洁,无需外部电源即可正常工作,这为现场测试带来了极大的便利。同时,其性能稳定可靠,经过长期使用后仍能保持良好的衰减精度,这对于需要长时间连续运行的测试环境尤为重要。
在实际使用中,我们经常会遇到这样的问题:在短距离光纤传输测试时,膜片衰减器的衰减量可能不够,无法将光功率降低到最佳测试值;而在长距离传输测试时,如果衰减量设置过大,又可能导致光信号过弱而无法正常传输。FC机械式光衰减器通过精密的机械调节结构,可以精确控制衰减量,有效解决了衰减不到最佳值或衰减值过大的问题。

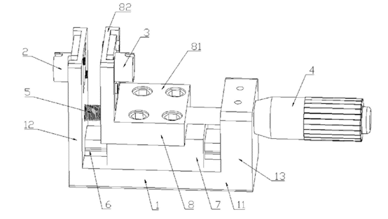
FC机械式光衰减器结构示意图
FC机械式光衰减器之所以能够实现精准的光功率调节,关键在于其精巧的结构设计。从专利文献的技术方案来看,一个完整的FC机械式光衰减器主要由以下几个核心组件构成:底座、输入端FC方形分体法兰盘、滑动组件、输出端FC方形分体法兰盘、千分尺测微头以及弹簧复位装置。
底座是整个设备的承载基础,它包括底板、设于底板一侧的第一侧壁以及设于底板另一侧的第二侧壁。第一侧壁和第二侧壁相对设置,共同构成了设备的主体框架。这种设计不仅提供了稳定的安装平台,还为各组件的精确配合创造了条件。
输入端FC方形分体法兰盘固定安装在底座的第一侧壁上,作为光信号的输入接口。输出端FC方形分体法兰盘则安装在滑动组件上,可以随着滑动组件的运动而改变位置。两个FC接口的设计使得光纤连接器能够快速插拔,大大提升了设备的使用效率。
滑动组件是实现光功率调节的核心机构,它由设于底座上的直线导轨、安装于直线导轨上的滑块以及固定在滑块上的FC法兰盘支架组成。直线导轨确保了滑块能够沿着预定轨道平稳滑动,从而保证光功率调节的重复性和稳定性。FC法兰盘支架呈L形设计,包括横部和竖部两个部分,横部固定于滑块上,竖部与第一侧壁相对设置,输出端FC方形分体法兰盘就安装在竖部上。
千分尺测微头是FC机械式光衰减器的精密调节元件,它安装在底座的第二侧壁上,并与FC法兰盘支架连接。千分尺测微头具有很高的测量精度,通常能够达到微米级别的分辨率,这使得操作者能够精确控制输出端FC方形分体法兰盘的移动距离。
弹簧复位装置的一端固定在底座上,另一端固定在滑动组件上,它的作用是在千分尺测微头反向旋转时,通过弹性回弹力推动输出端FC方形分体法兰盘向远离输入端的方向移动。这种弹性复位设计不仅简化了操作流程,还能够保证在无外力作用时,两个法兰盘之间的距离保持在安全范围内。
FC机械式光衰减器的工作原理基于光纤端面之间的横向偏移导致的光功率损耗现象。当两根光纤的端面严格对准时,光信号能够以最小的损耗从一根光纤传输到另一根光纤中;而当光纤端面之间存在横向偏移时,光信号的耦合效率会显著下降,从而实现光功率的衰减。
具体操作时,将入光光纤和出光光纤分别插入输入端FC方形分体法兰盘和输出端FC方形分体法兰盘中。通过正向或反向转动千分尺测微头,可以驱动输出端FC方形分体法兰盘沿直线导轨滑动,从而改变输入端FC方形分体法兰盘与输出端FC方形分体法兰盘之间的距离。
当正向转动千分尺测微头时,输出端FC方形分体法兰盘向输入端FC方形分体法兰盘靠近,此时两根光纤端面之间的横向偏移减小,光功率损耗降低,输出光功率增大。在这个过程中,弹簧被压缩,存储了弹性势能。
当反向转动千分尺测微头时,在弹簧弹性回力的作用下,输出端FC方形分体法兰盘向远离输入端FC方形分体法兰盘的方向移动。两根光纤端面之间的横向偏移增大,光功率损耗增加,输出光功率减小。
由于千分尺测微头具有极高的精度,操作者可以通过精确控制千分尺测微头的旋转角度来准确调节两法兰盘之间的距离,进而获得精确的光功率衰减值。在实际应用中,甚至可以计算千分尺测微头每旋转一刻度时输出端FC方形分体法兰盘移动的距离,通过计算旋转千分尺测微头的刻度数量来精确控制FC方形分体法兰盘的移动距离,实现光功率的精确控制。

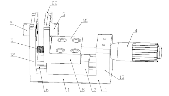
机械式光衰减器部件装配图
在选购和使用FC机械式光衰减器时,了解其关键技术参数和性能指标是非常重要的。这些参数不仅决定了设备的适用范围,还直接影响测试结果的准确性和可靠性。
衰减范围是FC机械式光衰减器最重要的技术指标之一。一般来说,机械式光衰减器的衰减范围可以从0dB到60dB甚至更高,能够满足大多数光通信测试场景的需求。在实际应用中,操作者可以根据测试要求灵活选择合适的衰减量。
衰减精度反映了设备在实际调节过程中所能达到的最小衰减步长。由于采用了千分尺测微头作为调节机构,FC机械式光衰减器的衰减精度通常可以达到0.1dB甚至更高,这对于需要精确控制光功率的测试场合具有重要意义。
插入损耗是指在光衰减器插入到光路中所引入的固有损耗,这是衡量光衰减器质量的重要指标。高质量的FC机械式光衰减器在零衰减状态下的插入损耗通常能够控制在0.5dB以内,这确保了最小化对测试光信号的影响。
回波损耗是评估光纤连接器质量的重要参数,它反映了从连接器反射回来的光功率大小。优质的FC连接器能够提供大于50dB的回波损耗,这对于需要高回波损耗要求的测试系统来说尤为关键。
可重复性是指在同一衰减设置下,多次测量得到的结果的一致性。FC机械式光衰减器由于其精密的机械结构,通常具有良好的可重复性,这对于需要多次重复测试的应用场景非常重要。
波长范围表明了光衰减器能够正常工作的波长区间。FC机械式光衰减器通常支持850nm、1310nm、1550nm等常用通信波长,部分高端产品甚至可以支持更宽的波长范围。
FC机械式光衰减器在光通信行业的应用非常广泛,几乎涵盖了光通信系统研发、生产、测试和维护的各个环节。下面我们来详细介绍几个典型的应用场景。
在光模块生产测试中,FC机械式光衰减器发挥着不可替代的作用。光模块作为光电转换的核心器件,在出厂前需要经过严格的性能测试,包括光功率、误码率、灵敏度等关键指标的测量。在这些测试中,需要精确控制输入光功率来模拟不同的工作条件,FC机械式光衰减器能够提供稳定可靠的衰减调节,确保测试数据的准确性。
在光纤通信网络的建设和维护过程中,光功率的在线监测和调节是保证网络性能的重要手段。当发现某条光路的接收光功率过高时,可以在接收端前端接入适当的衰减器,将光功率降低到安全范围内,避免损坏接收设备。FC机械式光衰减器因其使用方便、调节精确的特点,非常适合用于这类现场维护工作。
在光通信系统的研发实验室中,研究人员经常需要进行各种传输特性的实验研究。通过使用FC机械式光衰减器模拟不同距离的光纤传输损耗,可以在实验室环境中再现实际网络中的各种工况,为系统设计和优化提供实验依据。
在光通信设备的故障诊断中,FC机械式光衰减器也扮演着重要角色。当系统出现故障时,通过在光路中逐步引入衰减,观察系统性能的变化情况,可以帮助工程师快速定位故障点,提高故障排除效率。
虽然FC机械式光衰减器使用相对简单,但在实际操作过程中仍需注意一些关键事项,以确保设备的安全稳定运行和测试结果的准确性。
在进行光纤连接操作时,首先要确保光纤端面的清洁度。任何微小的灰尘或污染物都会导致连接损耗增大,影响衰减器的性能。建议使用专业的光纤清洁工具,在每次连接前对光纤端面进行清洁处理。
在插入和拔出光纤连接器时,要遵循正确的操作步骤,避免使用过大的力量。FC连接器通常采用螺纹紧固方式,旋转时要对准螺纹,避免损坏连接器的螺纹结构。同时,要注意保护光纤端面,避免与其他物体碰撞或摩擦。
在调节千分尺测微头时,要动作缓慢平稳,避免快速旋转导致机械冲击。特别是在接近预设值时,要更加小心操作,以免超过预定衰减量。对于需要精确控制的场合,建议采用多次微调的方式,逐步接近目标值。
在使用过程中,要定期检查直线导轨和滑块的运动状态,确保滑动组件运动顺畅无卡滞。如发现运动不灵活或有异常响声,应及时进行清洁和润滑处理,以保证设备的正常使用。
在存放FC机械式光衰减器时,应将其放置在干燥、清洁的环境中,避免潮湿和灰尘对设备造成损害。长时间不使用时,建议将千分尺测微头旋转到初始位置,释放弹簧的预紧力,延长设备的使用寿命。
为了确保FC机械式光衰减器能够长期保持良好的性能,定期的维护和保养是必不可少的。以下是一些实用的维护保养建议。
定期清洁是保持设备性能的基础。对于FC接口部分,每次使用前后都应该进行清洁,使用专用的光纤清洁棉或无水乙醇擦拭连接器端面。对于机械滑动部分,可以定期使用压缩空气吹扫,去除积聚的灰尘和碎屑。
滑动机构的润滑保养非常重要。直线导轨和滑块的接触面应该定期涂抹适量的专用润滑脂,以保证滑动顺畅,减少磨损。润滑保养的频率取决于设备的使用频率和工作环境,一般建议每3-6个月进行一次。
千分尺测微头是精密测量元件,需要特别小心保护。避免受到强烈的撞击或震动,存放时要使用专用的保护盖。如发现测量不准确或有卡滞现象,应及时送专业维修机构进行校准和维修。
对于设备的外壳和固定螺丝,要定期检查是否紧固,避免在使用过程中出现松动。如发现螺丝松动,应该及时紧固,但要注意不要用力过猛,以免损坏螺纹。
建立设备使用和维护记录是一个好习惯。在记录本上详细记录每次使用的时间、测试参数、发现的问题以及维护保养的情况,这样可以帮助我们更好地了解设备的使用状态,为设备的维护和更换提供依据。
光通信行业在过去几年保持了高速增长的态势,带动了光衰减器等光无源器件市场的蓬勃发展。从市场规模来看,全球光衰减器市场呈现出稳步增长的态势,预计未来几年仍将保持较高的增长率。
从技术发展趋势来看,光衰减器正朝着更高精度、更宽波长范围、更小体积的方向发展。随着光通信系统对性能要求的不断提高,光衰减器的技术指标也在持续提升。例如,一些高端产品的衰减精度已经达到0.05dB甚至更高,波长覆盖范围也从传统的通信波段扩展到更宽的频谱。
在产品形态方面,除了传统的台式机械衰减器外,还出现了各种小型化、便携式的设计。这些新产品在保持高性能的同时,大大减小了设备体积和重量,更加便于现场使用和携带。
智能化是另一个重要的发展方向。一些新型光衰减器集成了数字显示和自动控制功能,可以通过USB或以太网接口与计算机连接,实现远程控制和自动化测试。这些智能化产品大大提高了测试效率,降低了人工操作的误差成本。
在国内市场方面,随着光通信产业的快速发展,国产光衰减器的技术水平也在不断提升。越来越多的国内厂商能够提供高质量的光衰减器产品,在性能和可靠性方面已经能够与国际知名品牌相媲美,而价格方面则更具竞争力。
面对市场上众多品牌的FC机械式光衰减器产品,如何选择一款适合自己需求的产品呢?以下几个方面可以作为选择的参考依据。
首先要明确自己的应用需求。不同的测试场景对衰减器的性能要求也不同,例如,光模块生产测试可能需要较高的精度和良好的可重复性,而现场维护则更看重使用的便携性和操作的简便性。在选择产品前,应该充分评估自己的实际需求,避免过度配置或功能不足。
其次要关注关键技术参数。衰减范围、衰减精度、插入损耗、回波损耗等参数直接决定了产品的性能水平,应该根据测试要求选择合适的产品规格。一般来说,参数指标越高,产品的性能越好,但价格也相应较高。
品牌和供应商的选择也很重要。知名品牌的产品在质量控制和售后服务方面通常更有保障,但价格相对较高。国内一些优秀厂商的产品在性能上已经能够满足大多数应用需求,而且价格更具优势。广西科毅光通信科技有限公司作为专业光开关生产销售商,在光通信器件领域拥有丰富的经验,能够为客户提供高品质的光衰减器产品和专业的技术支持。
产品的性价比是需要综合考虑的因素。不能简单地以价格作为选择的唯一标准,而应该在性能、质量、服务和价格之间找到平衡点,选择最适合自己需求的产品。
最后,建议在购买前向供应商索取产品样品进行试用评估。通过实际使用,可以更直观地了解产品的性能和质量,为最终的选择提供可靠的依据。
FC机械式光衰减器作为光通信测试领域的重要工具,凭借其精密的机械结构、优秀的衰减性能和便捷的使用特点,在光通信系统的研发、生产、测试和维护中发挥着不可替代的作用。
在实际应用中,合理选择和使用FC机械式光衰减器,不仅能够提高测试效率和准确性,还能有效降低测试成本,为光通信系统的性能优化和可靠性提升提供有力支持
择合适的光开关等光学器件及光学设备是一项需要综合考量技术、性能、成本和供应商实力的工作。希望本指南能为您提供清晰的思路。我们建议您在明确自身需求后,详细对比关键参数,并优先选择像科毅光通信这样技术扎实、质量可靠、服务专业的合作伙伴。
如果您对磁光开关产品有需求,或想了解更多光通信相关产品信息,访问广西科毅光通信官网www.coreray.cn浏览我们的光开关产品,或联系我们的销售工程师,获取专属的选型建议和报价!
(注:本文部分内容由AI协助习作,仅供参考)