TOP
首页 > 新闻动态
2025-12-04
随着5G、数据中心、光纤到户(FTTH)等业务的高速发展,光通信网络对传输容量、部署效率和成本控制的要求持续提升。传统光网络中,分立的波分复用器(WDM)和光开关器件存在数量多、空间占用大、光路布局复杂等问题,严重制约了网络建设的灵活性与经济性。广西科毅光通信科技有限公司(官网:www.coreray.cn)深耕光通信器件研发生产多年,基于行业痛点推出集成化阵列式WDM与高性能光开关解决方案,通过核心技术突破,为光网络建设提供更高效、可靠的器件支持。
在光通信网络中,WDM(波分复用器)和光开关是实现光波分复用、光路灵活切换的核心器件。但传统分立器件的设计与应用,逐渐难以满足现代光网络的高密度部署需求。
传统WDM多为三端口分立器件,其典型结构如图1所示。

图1 现有技术中三端口WDM的结构示意图
该结构主要由双芯插针(含公共端和反射端两个光端口)、自聚焦透镜、介质膜滤波片和单芯准直器(透射端)组成。工作原理为:含多个波长的光波从公共端输入,经介质膜滤波片筛选后,特定波长的光反射至反射端输出,其余波长的光透射至透射端输出。
这种分立WDM存在明显局限:单个器件仅能实现一组光波的分波/合波,当光网络需要大量分波/合波链路时,需部署海量分立WDM器件,导致网络建设成本高、机房空间占用大,且后续维护难度增加。
机械式光开关的结构如图2所示,通过控制部件驱动输出光纤切换,实现光路选择。但其存在切换速度慢、体积大、可靠性差等问题,难以适应高速光网络的动态调整需求。

图2 现有技术中机械式光开关的结构示意图
MEMS式光开关的结构如图3所示,利用微机电系统(MEMS)反射镜的偏转实现光路切换,虽在切换速度和体积上有一定提升,但传统MEMS光开关的输出光纤多为独立排布,与其他器件对接时需额外部署大量连接光纤,导致光路管理复杂,且易出现信号损耗问题。

图3 现有技术中MEMS式光开关的结构示意图
为解决传统分立WDM的局限,广西科毅光通信基于阵列化设计理念,研发出集成化阵列式WDM器件,通过核心结构优化,实现多组WDM功能的一体化集成。

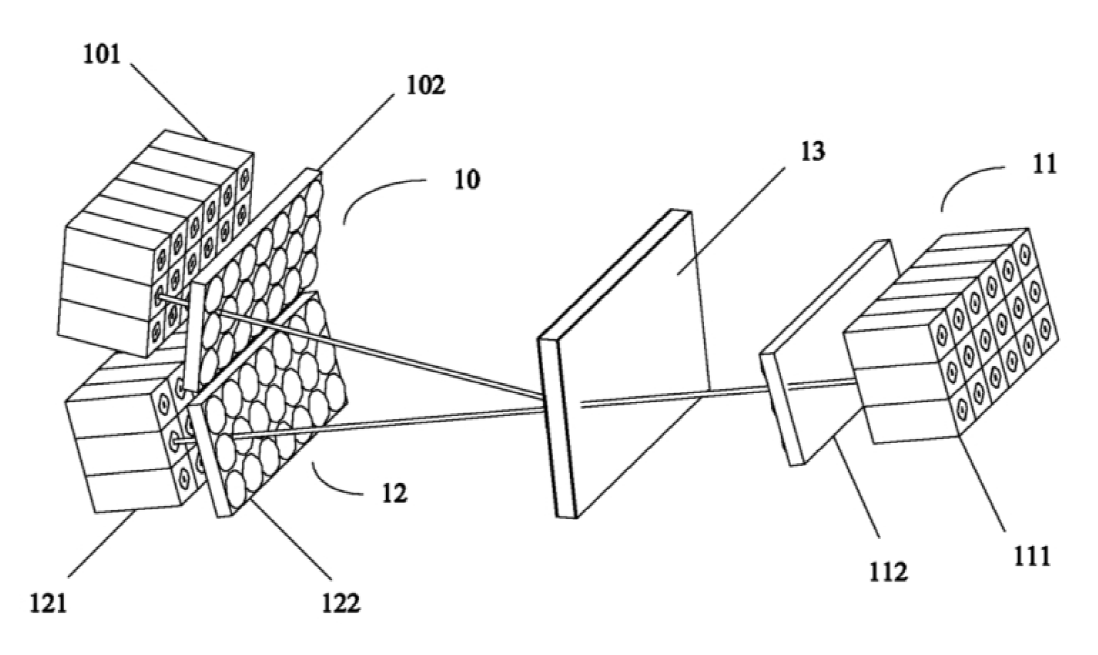
图4 本发明实施例提供的WDM的结构示意图
阵列式WDM的结构如图4所示。其核心由三个端口组成,分别为公共端10、透射端11和反射端12,三个端口均集成了光纤阵列与匹配的微透镜阵列:
1. 公共端由第一光纤阵列101和第一微透镜阵列102组成;
2. 透射端由第二光纤阵列111和第二微透镜阵列112组成;
3. 反射端由第三光纤阵列121和第三微透镜阵列122组成;
4. 核心滤波部件为滤波片13,用于实现不同波长光波的透射与反射选择。
这种阵列化设计的核心创新在于,用光纤阵列替代传统分立WDM的单根光纤,用匹配的微透镜阵列实现光波的高效耦合传输,从而将多个分立WDM的功能集成于一个器件中。
阵列式WDM的工作流程可分为三个关键步骤:
1. 光信号输入耦合:公共端第一光纤阵列101中任意一根光纤输出的光信号,经第一微透镜阵列102中对应的微透镜准直后,精准传输至滤波片13表面;
2. 波长筛选分离:光信号到达滤波片13后,根据波长特性实现分离——特定波长的光信号发生透射,其余波长的光信号发生反射;
3. 光信号输出耦合:透射光进入透射端第二微透镜阵列112的对应微透镜,经聚焦后通过第二光纤阵列111的相应光纤输出;反射光进入反射端第三微透镜阵列122的对应微透镜,聚焦后通过第三光纤阵列121的相应光纤输出。
整个过程中,微透镜阵列与光纤阵列呈一一对应的空间位置关系,确保光信号在传输过程中的低损耗耦合,提升传输效率。
阵列式WDM的光纤阵列和微透镜阵列可采用一维或二维形式,具体根据应用场景选择:
4. 一维形式适用于光路数量较少的场景,结构简单、成本较低;
5. 二维形式适用于高密度部署需求,例如3×6的二维光纤阵列式WDM,可同时实现18个分立WDM的功能,大幅提升器件集成度。
滤波片采用大面积设计,确保光纤阵列输出的多束光信号均可覆盖其有效区域,实现对所有端口光波的同时筛选。滤波片的波长选择特性可根据实际应用需求定制,满足不同光网络的波分复用要求。
通过精准控制光纤阵列与微透镜阵列的空间位置精度,确保每根光纤与对应微透镜的完美匹配,减少光信号在耦合过程中的损耗,使阵列式WDM的整体耦合效率达到传统分立WDM的同等水平甚至更优。
广西科毅光通信在阵列式WDM技术基础上,同步研发了高性能光开关装置,采用阵列化输出设计,与阵列式WDM形成完美适配,进一步提升光网络的集成化水平。

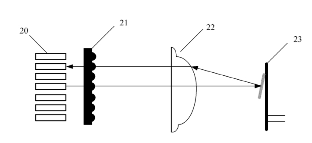
图5 本发明实施例提供的一种光开关装置结构示意图
光开关装置的结构如图5所示。其核心组成包括光纤阵列20、微透镜阵列21、透镜22和MEMS反射镜23,各部件的功能与协作关系如下:
6. 光纤阵列20:采用一维或二维阵列式排布,替代传统独立光纤,实现多光路的集中传输;
7. 微透镜阵列21:与光纤阵列20呈一一对应的空间位置关系,用于光信号的准直与聚焦;
8. 透镜22:可采用单个透镜、透镜组、球面镜或非球面镜,实现光信号的方向调整与平行光转换;
9. MEMS反射镜23:芯片式反射镜,通过电压或电流控制实现微小偏转,精准控制光信号的反射方向。
光开关装置的工作过程分为四个关键阶段:
1. 光信号输入:输入光信号通过光纤阵列20中间位置的特定光纤传输(该光纤对应透镜22的光心位置),确保光信号精准入射至微透镜阵列21的对应微透镜;
2. 光信号准直与投射:微透镜阵列21将输入光信号准直后,从透镜22的中心位置射出,传输至MEMS反射镜23;
3. 光信号偏转控制:通过控制信号驱动MEMS反射镜23偏转,使光信号以特定角度反射回透镜22;
4. 光信号输出耦合:透镜22将反射光信号转换为与光轴平行的平行光,传输至微透镜阵列21的对应微透镜,经聚焦后通过光纤阵列20的目标光纤输出,实现1×N的光路选择功能。
输出光纤采用阵列式设计,可与阵列式WDM的光纤阵列直接匹配对接,无需额外的过渡连接器件,简化光路布局。
MEMS反射镜的偏转角度可精准调控,实现N条光路的快速切换,切换速度快、稳定性高,满足光网络动态调整的需求。
单个光开关装置可实现多条光路的选择与传输,替代多个传统分立光开关,减少器件数量,降低光网络的建设成本与维护难度。
阵列式WDM与高性能光开关的集成化技术,从根本上解决了传统光通信器件的诸多痛点,为光网络建设带来多方面的行业价值。
通过阵列化集成设计,N个分立WDM器件可集成于一个阵列式WDM中,配合阵列式光开关,大幅减少光网络中核心器件的总数量。以某PON网络为例,传统方案需部署数十个分立WDM和光开关,而采用集成化方案后,仅需少数几个阵列式器件即可满足需求,器件占用空间减少80%以上,有效节约机房资源。
阵列式器件的光纤阵列直接对接,消除了传统分立器件间大量的独立光纤连接,减少了光信号在传输过程中的插损和反射损耗,提升了整个光网络的传输效率。同时,简化的光路布局也降低了施工难度和后期故障排查的复杂度。
器件数量的减少直接降低了光网络的硬件采购成本,而简化的光路布局和施工流程则降低了工程建设成本。此外,集成化器件的可靠性更高,故障率更低,可减少后期维护的人力和物力投入,全面优化光网络的建设与运营成本。
广西科毅光通信作为专业的光开关、波分复用器生产销售商,始终以技术创新为核心竞争力,阵列式WDM与高性能光开关系列产品具备以下核心优势:
1. 技术研发实力:拥有专业的研发团队,深耕光通信器件领域多年,可根据客户需求定制光纤阵列形式、波长范围、光路数量等关键参数,提供个性化解决方案;
2. 产品品质可靠:严格遵循行业标准进行生产制造,从原材料采购到成品检测,每个环节均经过严格把控,确保产品的稳定性与可靠性;
3. 完善的服务体系:提供从产品咨询、方案设计、安装调试到后期维护的全流程服务,及时响应客户需求,为客户提供高效、专业的技术支持。
如果您正在寻找高集成度、高性能的光通信器件解决方案,欢迎访问广西科毅光通信官方网站www.coreray.cn,了解更多产品详情,或直接联系我们的客服团队,获取一对一的专业咨询服务。
择合适的光开关等光学器件是一项需要综合考量技术、性能、成本和供应商实力的工作。希望本指南能为您提供清晰的思路。我们建议您在明确自身需求后,详细对比关键参数,并优先选择像科毅光通信这样技术扎实、质量可靠、服务专业的合作伙伴。
访问广西科毅光通信官网www.coreray.cn浏览我们的光开关产品,或联系我们的销售工程师,获取专属的选型建议和报价!
其他相关文章:
《光路选择装置与光开关控制方法-广西科毅光通信行业应用方案》