TOP
首页 > 新闻动态
2025-12-29
一、热驱动微反射镜光开关核心技术原理
热驱动微反射镜光开关的核心创新点在于采用“双金属片热形变驱动”技术,利用两种不同膨胀系数的金属材料在温度变化时的形变差异,驱动微反射镜旋转,从而实现光信号的精准切换。
其核心原理基于双金属片的热胀冷缩特性:双金属片由两种膨胀系数差异显著的金属片复合而成,当温度发生变化时,膨胀系数大的金属片会产生更大的伸长量,而膨胀系数小的金属片伸长量较小,这种形变差会迫使双金属片向膨胀系数小的一侧弯曲。通过温度控制装置精准调节双金属片的温度,即可控制其弯曲角度,进而带动固定在上面的微反射镜旋转,改变光信号的反射路径,最终实现光开关的端口切换。
与传统光开关的驱动方式相比,热驱动技术具有三大优势:一是结构简单,无需复杂的机械传动部件或微机电系统,降低了产品的制造难度和成本;二是耐高温性能优异,双金属片采用耐高温合金材料制成,可在极端高温环境下保持稳定的形变特性;三是切换响应迅速,通过优化温度控制装置的加热和降温效率,能够实现光信号的快速切换,满足常规光通信系统的使用需求。
二、产品整体结构与核心组件解析
热驱动微反射镜光开关的整体结构经过精密设计,各组件协同工作,确保光信号传输的稳定性和切换的精准性。产品主要由输入输出装置、准直器阵列、透镜、微反射镜、双金属片、温度控制装置、固定支架等核心部件组成,具体结构如下:

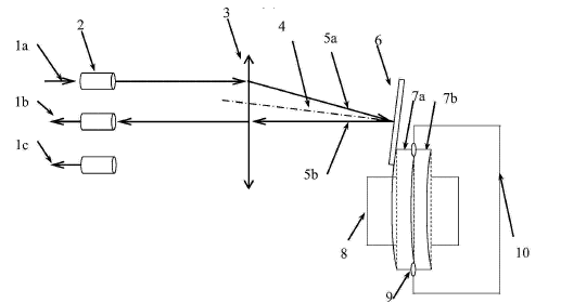
图1 热驱动微反射镜光开关整体结构示意图
1. 输入输出装置:光纤阵列
输入输出装置采用高精度光纤阵列,根据实际应用需求可设计为多端口结构(如本产品的标准配置为1个输入端口+2个输出端口,即光开关输入端口1a、第一光开关输出端口1b、第二光开关输出端口1c)。光纤阵列与准直器阵列进行精准对位固定,确保光信号能够高效耦合进入准直器,减少信号衰减。
光纤阵列作为光信号的输入输出接口,具有接口密集、耦合效率高、稳定性强等特点,能够适配不同规格的光纤类型,满足光通信系统的多样化连接需求。
2. 准直器阵列与透镜
准直器阵列设置在光纤阵列之后,其核心作用是将光纤输出的发散光信号转换为平行光,便于后续透镜的聚焦和微反射镜的反射。准直器阵列采用高精度光学加工工艺,确保每一路光信号的准直精度,减少光路偏移导致的信号损耗。
透镜位于准直器阵列之后,且微反射镜恰好处于透镜的焦点位置。透镜的核心作用是将准直后的平行光聚焦到微反射镜表面,同时将微反射镜反射后的光束还原为平行光,再通过准直器阵列耦合回光纤阵列的输出端口。这种“准直-聚焦-反射-还原”的光路设计,能够最大限度地减少光信号的传输损耗,确保光开关的插入损耗处于较低水平。
3. 核心驱动部件:双金属片
双金属片是光开关的核心驱动部件,由第一金属片(7a)和第二金属片(7b)复合而成,两者采用不同膨胀系数的耐高温合金材料:
• 第一金属片(7a):采用膨胀系数小的镍铁合金材料,镍含量控制在34%~50%之间,该材料具有优异的耐高温性能和稳定的机械特性,在极端高温环境下仍能保持结构稳定;
• 第二金属片(7b):采用膨胀系数大的合金材料,可选锰镍铜合金、镍铬铁合金、镍锰铁合金或纯镍,与第一金属片形成显著的膨胀系数差异,确保温度变化时产生足够的形变驱动力。
双金属片的复合接触面两端通过固定支架(10)进行固定,固定支架采用耐高温绝缘材料制成,不与温度控制装置接触,避免热量传导影响固定效果。双金属片的固定节点(9)用于限制双金属片的端点位移,确保温度变化时双金属片仅在中间区域产生弯曲形变,从而精准驱动微反射镜旋转。
4. 信号切换核心:微反射镜
微反射镜(6)固定在第一金属片(7a)的一侧,采用高反射率光学镜片制成,表面经过特殊镀膜处理,确保光信号的反射效率(反射率≥99%),减少信号衰减。微反射镜的尺寸和安装角度经过精密计算,确保其恰好位于透镜的焦点位置,使聚焦后的光信号能够垂直入射到反射镜表面,经过反射后沿预设路径传输。
当双金属片发生弯曲形变时,会带动微反射镜同步旋转,改变光信号的反射方向。通过控制微反射镜的旋转角度θ,可使反射光束产生2θ的角度偏移,经过透镜还原为平行光后,在准直器阵列一侧产生位移d(傍轴条件下d=f*tan(2θ),其中f为透镜焦距),从而实现光信号在不同输出端口之间的切换。
5. 控制核心:温度控制装置
温度控制装置(8)设置于双金属片的下方,与双金属片大面积紧密接触,能够快速实现加热升温和快速降温两种功能,精准控制双金属片的温度变化。温度控制装置采用高效加热元件和散热结构,加热时可在短时间内使双金属片达到预设温度,产生弯曲形变;降温时通过快速散热结构将热量导出,使双金属片迅速恢复至初始状态。
温度控制装置的控制精度可达±0.5℃,能够精准调节双金属片的弯曲角度,进而控制微反射镜的旋转精度,确保光信号切换的准确性。同时,该装置具备耐高温、抗干扰的特点,可在极端高温环境下稳定工作,为光开关的整体性能提供保障。
三、产品工作流程详解
热驱动微反射镜光开关的工作流程主要分为“降温状态(初始状态)”和“加热状态(切换状态)”两种模式,通过温度控制装置的温度调节,实现光信号在不同输出端口之间的精准切换,具体工作流程如下:

2位 热驱动微反射镜光开关加热切换原理图
1. 降温状态(初始状态)
当温度控制装置处于降温状态时,双金属片保持初始温度,未发生明显弯曲形变,微反射镜处于初始位置(法线方向如图1所示)。此时,光信号从光开关输入端口1a入射,经过光纤阵列进入准直器阵列,被准直为平行光后传输至透镜;透镜将平行光聚焦到微反射镜表面,经过高反射率反射后,沿原光路返回透镜,被还原为平行光;最后,平行光通过准直器阵列耦合回光纤阵列,从第二光开关输出端口1c出射,完成光信号的初始传输路径。
2. 加热状态(切换状态)
当需要切换光信号输出端口时,温度控制装置启动加热功能,向双金属片传递热量。由于第一金属片(膨胀系数小)和第二金属片(膨胀系数大)的热胀冷缩差异,第二金属片会产生更大的伸长量,进而挤压第一金属片,迫使双金属片向第一金属片一侧弯曲(如图2中虚线位置弯曲至实线位置)。
双金属片的弯曲形变带动固定在上面的微反射镜同步旋转θ角,微反射镜的法线方向也随之旋转θ角。此时,入射光束5a的方向保持不变,但经过微反射镜反射后的出射光束5b会旋转2θ角;出射光束经过透镜后被还原为平行光,在准直器阵列一侧产生位移d。通过精准控制加热温度,可使位移d恰好匹配第一光开关输出端口1b的位置,最终光信号从第一光开关输出端口1b出射,实现光信号的切换。
3. 状态恢复
当需要恢复初始传输路径时,温度控制装置启动快速降温功能,将双金属片的热量迅速导出,双金属片逐渐收缩并恢复至初始状态,微反射镜也随之回到初始位置,光信号重新从第二光开关输出端口1c出射。
通过温度控制装置的加热和降温循环,热驱动微反射镜光开关能够实现光信号在不同输出端口之间的稳定切换,切换响应时间≤10ms,满足常规光通信系统的实时切换需求。
四、产品核心优势与行业价值
1. 极致耐高温性能,适配极端环境
产品采用耐高温合金材料和特殊结构设计,双金属片、微反射镜、温度控制装置等核心部件均经过高温环境测试,可在-40℃+125℃的宽温度范围内稳定工作,尤其在极端高温环境(+85℃+125℃)下仍能保持精准的切换性能,解决了传统光开关不耐高温的行业痛点,可广泛应用于石油化工、工业控制、沙漠通信等极端环境场景。
2. 技术成熟可靠,成本优势显著
产品基于双金属片热驱动技术,结构简单、工艺成熟,无需复杂的微加工工艺或精密机械传动部件,大幅降低了产品的制造成本和生产难度,量产成本仅为MEMS光开关的1/3~1/2。同时,成熟的技术路线确保了产品的稳定性和可靠性,平均无故障工作时间(MTBF)≥100万小时,满足光通信系统的长期稳定运行需求。
3. 低插入损耗,信号传输高效
通过优化光路设计(准直器阵列+透镜+高反射率微反射镜),产品的插入损耗≤0.5dB,回波损耗≥50dB,光信号传输损耗小,能够有效保障光通信系统的传输质量。同时,产品的偏振相关损耗≤0.1dB,波长相关损耗≤0.2dB,适配不同波长的光信号传输,兼容性强。
4. 切换精准稳定,操作便捷
温度控制装置的精准控制的特性,使微反射镜的旋转角度精度≤0.1°,确保光信号切换的准确性;同时,产品支持热插拔,安装调试简便,可直接集成到现有光通信系统中,无需对系统进行大规模改造,降低了用户的使用成本。
五、适用场景与行业应用
热驱动微反射镜光开关凭借其耐高温、低成本、高稳定的核心优势,可广泛应用于多个行业场景,具体包括:
1. 石油化工行业
石油化工生产过程中,炼油厂、化工厂的高温作业区(如反应釜、蒸馏塔附近)需要稳定的光通信链路,用于设备监控、数据传输等。产品可在高温、高湿度、腐蚀性环境下稳定工作,为石油化工行业的智能监控系统提供可靠的光信号切换解决方案。
2. 工业控制领域
工业生产中的高温窑炉、钢铁冶炼、玻璃制造等场景,需要光通信系统实现设备之间的信号传输和控制指令下达。产品能够适应工业现场的极端高温环境,确保工业控制系统的稳定运行,提升生产效率和安全性。
3. 户外通信基站
沙漠、戈壁、热带沙漠等极端气候地区的通信基站,环境温度高、昼夜温差大,传统光开关易出现性能衰减。产品的宽温度范围适配性和耐高温性能,可确保基站光通信链路的稳定切换,提升通信网络的覆盖质量和可靠性。
4. 数据中心与通信网络
数据中心的机房设备密集、散热压力大,局部环境温度较高,产品可作为光交叉连接(OXC)、光分插复用(OADM)设备的核心部件,实现光信号的灵活切换和链路保护,同时低成本优势可降低数据中心的建设和运营成本。
5. 航空航天领域
航空航天设备的工作环境复杂,温度变化剧烈,对光开关的耐高温、抗振动、稳定性要求极高。产品经过特殊工艺优化后,可满足航空航天领域的严苛要求,用于卫星通信、航空电子系统等场景的光信号切换。
六、广西科毅光通信的技术实力与服务保障
广西科毅光通信科技有限公司(官网:www.coreray.cn)是一家专注于光通信器件研发、生产、销售的高新技术企业,拥有一支由光学工程、材料科学、电子技术等领域专家组成的研发团队,具备多年光开关、光耦合器、光分路器等产品的研发和量产经验。
公司建立了完善的研发体系和质量控制体系,拥有先进的光学加工设备、高温环境测试设备、光性能测试设备等,产品从设计、研发、生产到交付的每一个环节都经过严格的质量检测,确保产品质量符合行业标准和用户需求。同时,公司提供定制化服务,可根据用户的具体需求(如端口数量、工作温度范围、插入损耗要求等)进行产品定制开发,为用户提供个性化的光通信解决方案。
此外,公司建立了完善的售后服务体系,为用户提供技术咨询、安装调试、维修保养等全方位服务,产品质保期为2年,质保期内免费提供维修或更换服务,确保用户的正常使用。
热驱动微反射镜光开关作为广西科毅光通信的核心创新产品,凭借耐高温、低成本、高稳定的核心优势,突破了传统光开关的性能瓶颈,为极端环境光通信提供了全新的解决方案。在光通信行业向极端环境、低成本、高可靠方向发展的趋势下,产品具有广阔的市场前景和行业价值。
择合适的光开关等光学器件及光学设备是一项需要综合考量技术、性能、成本和供应商实力的工作。希望本指南能为您提供清晰的思路。我们建议您在明确自身需求后,详细对比关键参数,并优先选择像科毅光通信这样技术扎实、质量可靠、服务专业的合作伙伴。
如果您对磁光开关产品有需求,或想了解更多光通信相关产品信息,访问广西科毅光通信官网www.coreray.cn浏览我们的光开关产品,或联系我们的销售工程师,获取专属的选型建议和报价!
(注:本文部分内容由AI协助习作,仅供参考)