TOP
首页 > 新闻动态
2026-01-16
随着工业激光技术的飞速发展,大功率激光在金属切割、焊接、表面处理等领域的应用日益广泛。目前,国内光纤激光器的连续输出功率已突破1万瓦,而国外先进激光器的输出功率甚至达到10万瓦以上,且功率仍在持续增长。
在这一背景下,大功率激光的准确测量成为技术瓶颈。传统光功率计通常采用热电芯片进行测量,激光持续照射芯片后,能量转化为热能并通过散热系统导出。然而,随着激光功率不断提升,芯片温度急剧上升,极易导致烧毁。目前,市场上能够测量2000瓦以下激光的功率计厂家较多,但面对1万瓦以上的高功率激光,仅有少数企业能够提供适用产品。当激光功率超过5万瓦时,即使是最先进的产品也显得极为脆弱,测量风险大幅增加。
若试图先对激光进行衰减再测量,则面临另一重困难:现有激光衰减器难以承受如此高的功率,操作上也存在诸多限制。正是在这样的技术背景下,一种新型大功率激光衰减器的设计应运而生。
创新设计:旋转式水冷衰减器的工作原理
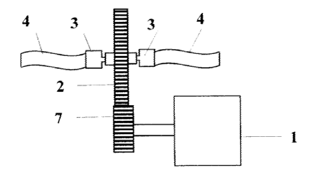
本实用新型提供了一种全新结构的大功率激光衰减器,其核心设计理念是在时域上对激光进行平均衰减,通过机械结构与冷却系统的结合,实现高功率激光的安全、稳定衰减。
该衰减器主要由电机和挡光板两部分构成。挡光板设计为圆盘状,其上开设一条或多条特殊形状的缝隙。关键在于:缝隙的宽度随着离圆心的距离增加而增大,形成扇形开口。挡光板内部采用中空结构,设有两个进出水口,冷却水可流入挡光板内部并循环流动,有效带走吸收的热量。

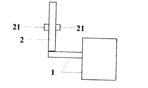
图1实施例一结构示意图 - 广西科毅光通信科技有限公司
挡光板由电机驱动,围绕圆心高速旋转。激光在大部分时间内被挡板阻挡吸收,仅在缝隙经过时得以透射。由于缝隙呈特定扇形设计,无论激光照射在挡光板工作区域的哪个位置,其透射时间占总时间的比例恒定不变。这意味着衰减值仅由缝隙的几何形状决定,而与旋转速度无关,从而实现了稳定、可预测的衰减效果。
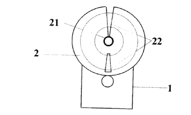
在第一实施例中,挡光板上设有两条狭缝。如图2所示,阴影区域为激光可照射的工作区域。在该区域内,距离旋转轴心为r的圆周上,两条缝隙的总宽度与r成正比。这种设计确保了激光无论照射在哪个位置,透射时间比例保持一致。

图2 实施例一正面视图
挡光板的中空结构设计精巧,两个进出水口位于挡板两侧的旋转轴心上。内部结构避免了进出水口的直通对流,迫使冷却水在挡板内部充分流动后再排出,提升了散热效率。
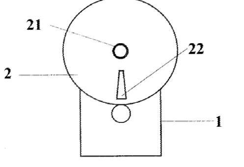
实施例二在实施例一的基础上进行了重要改进:挡光板上的缝隙减少为一条,缝隙两侧为直线,延长线通过旋转轴心,形成小夹角θ。这一改变带来了显著优势。

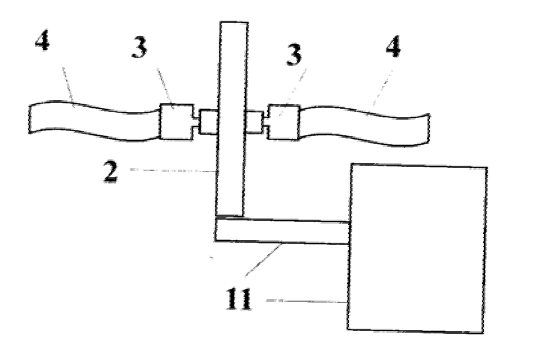
图3 实施例二结构示意图

图4 实施例二正面示意图
更为重要的是,此实施例在挡光板的进出水口各连接了一个旋转接头,每个旋转接头再连接水管。旋转接头的使用使得水管不会随挡光板旋转,大大提高了系统的实用性和可靠性。
由于缝隙呈精确的扇形,激光在任何位置的透射时间比例均为θ/360,衰减率则为(1-θ/360)。例如,当θ=1度时,透射率仅为0.28%,意味着99.72%的激光能量被衰减,衰减值高达25.5dB。如此高的衰减能力,使其能够应对极高功率的激光测量场景。
专利还提供了两种传动方式的优化设计:
皮带传动设计(实施例三):如图5所示,电机上安装皮带轮,通过皮带带动挡光板旋转。这种传动方式运行平稳,噪音较低。

图5 实施例三皮带传动结构
齿轮传动设计(实施例四):如图6所示,电机通过传动齿轮与挡光板边缘的齿条啮合,驱动挡光板旋转。这种传动方式精度高,传递效率好。

图6 实施例四齿轮传动结构
本设计的核心优势在于衰减值的稳定性。由于衰减仅由缝隙的几何形状决定,与旋转速度、电机状态等动态因素无关,因此不受设备老化和转速波动的影响。无论挡光板旋转速度如何变化,无论激光照射在工作区域的哪个位置,衰减值都保持恒定。
这种稳定性对于高精度激光测量至关重要。在实际应用中,热电功率计的响应时间通常约为3秒。如果挡板转速达到或超过20圈/秒,功率计读数的波动将微乎其微,可直接视为激光功率的平均值。即使在响应时间更短或转速较慢的情况下,通过适当的平均计算,也能获得准确的测量结果。
通过创新的水冷设计,本衰减器能够承受极高功率的激光照射。挡光板吸收的大部分激光能量被内部流动的冷却水迅速带走,防止热量积聚导致的设备损坏。这一设计使衰减器能够长期稳定工作在极高功率环境下,解决了传统衰减器无法应对高功率激光的难题。
与一些通过介质吸收实现衰减的设备不同,本设计完全通过机械方式控制激光透射时间比例,光路中不添加任何中介介质。这不仅保证了衰减比例的长期稳定性,也避免了介质可能带来的光学污染、热透镜效应等问题,确保了测量结果的准确性。
这项大功率激光衰减器技术在高功率激光加工、激光武器研发、科研实验等领域具有广阔的应用前景:
1. 工业激光加工:为万瓦级甚至更高功率的工业激光器提供安全、可靠的功率监测手段,保障加工质量与设备安全。
2. 激光系统研发:为高功率激光器的研发测试提供必要的测量工具,加速技术迭代与创新。
3. 科研实验:为高校、科研院所的高功率激光实验提供精确的功率控制与测量方案。
4. 国防军工:满足高能激光武器系统测试的特殊需求,提供安全可控的测试环境。
随着激光技术的不断发展,高功率激光的测量与控制需求日益迫切。本实用新型提供的大功率激光衰减器,通过创新的旋转挡光板设计与高效水冷系统相结合,实现了衰减值稳定、功率耐受能力强、光路纯净等多重优势,为高功率激光测量提供了可靠的技术解决方案。
择合适的光开关等光学器件及光学设备是一项需要综合考量技术、性能、成本和供应商实力的工作。希望本指南能为您提供清晰的思路。我们建议您在明确自身需求后,详细对比关键参数,并优先选择像科毅光通信这样技术扎实、质量可靠、服务专业的合作伙伴。
如果您对磁光开关产品有需求,或想了解更多光通信相关产品信息,访问广西科毅光通信官网www.coreray.cn浏览我们的光开关产品,或联系我们的销售工程师,获取专属的选型建议和报价!
(注:本文部分内容由AI协助习作,仅供参考)