TOP
首页 > 新闻动态
2026-02-06
在光纤通信与光学测试系统中,光衰减器是一种至关重要的无源器件。它主要用于对光信号功率进行精确、可控的衰减,广泛应用于光通信系统的功率调节、接收机灵敏度测试、系统损耗评估等场景。随着光纤网络向高速率、高密度方向发展,对光衰减器性能的要求也日益提高,尤其是连续可调衰减器,因其可灵活、实时调节衰减量的特性,受到越来越多系统集成商与研发人员的青睐。
近期我们研发出一种结构新颖的连续可调衰减器,该设计在降低插入损耗、实现连续可调方面具有明显优势。本次我们对该技术进行详细解读,并结合光通信设备实际应用,探讨其技术特点与市场价值。
光衰减器根据衰减方式可分为固定式、步进式和连续可调式。传统可调衰减器多采用机械平移或替换滤波片的方式实现衰减量变化,存在调节不连续、机械磨损大、插入损耗较高等问题。尤其在多模光纤系统与高功率应用中,如何实现低损耗、高精度、连续可调的衰减功能,一直是行业技术攻关的重点。
连续可调衰减器不仅可用于实验室与生产线测试,也逐渐应用于动态光网络、光纤传感和光模块校准等实时调节场景,其性能直接影响系统稳定性与测试精度。
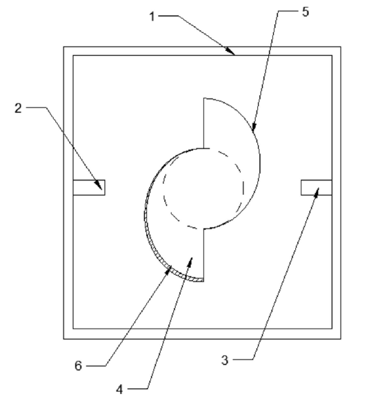
该技术提出的连续可调衰减器主要包括以下几部分:
衰减器主体(1):作为结构支撑与光学封装基础。
输入/输出多模光纤准直器(2、3):固定于主体内,实现光纤与自由空间光的高效耦合。
滤光片(4):位于两准直器之间,是该设计的核心部件。
该滤光片采用一体成型的中心对称双弧形片设计,其曲面经过精确光学计算,确保光线入射点与出射点的法线方向与光路一致,从而显著降低折射与反射损耗。

如图所示,输入多模光纤准直器输出的光束,射向滤光片弧面时,入射角始终与该点切线垂直;光束经滤光片内部传播后,出射角也保持与出射点切线垂直。这意味着入射光与出射光始终处于同一直线上,极大减少了因折射、散射引起的光损耗。
其中一个弧形片的上表面设有涂镀面(6),其涂层厚度沿远离中心对称点的方向逐渐增厚。这种梯度涂层设计使得滤光片在不同区域具有不同的光衰减特性。
通过旋转调节机构带动滤光片绕中心轴旋转,可改变光束通过的涂层区域,从而实现衰减量的连续可调。

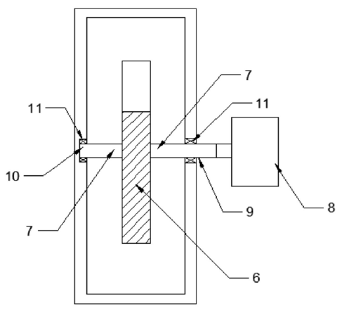
图2 连续可调衰减器旋转调节机构
旋转机构包括:
旋转轴(7):固定于滤光片中心并垂直贯穿;
旋转电机(8):安装在衰减器主体外部,通过输出轴与旋转轴连接;
穿孔(9)与轴承(11):确保旋转平稳、精准。
该结构简单可靠,可通过电机控制实现自动化调节,适用于集成化光通信设备与测试平台。
与现有可调衰减器相比,本设计具备以下突出优点:
1. 低插入损耗:基于垂直入射/出射的光路设计,极大降低折射与界面反射损耗。
2. 连续可调:通过旋转梯度涂层滤光片,实现衰减量无级连续调节。
3. 结构稳定:一体成型弧形片与轴承支撑结构,长期使用仍保持精度。
4. 易于集成:支持电机驱动,可接入控制系统,适用于自动化测试与动态光网络。

图3 连续可调衰减器滤光片旋转效果图
此类连续可调衰减器不仅适用于传统的光功率调节与测试系统,更可在以下场景中发挥重要作用:
光模块生产测试:在光开关、光收发模块的灵敏度与动态范围测试中,需要连续调节输入光功率。
动态光网络:在波分复用(WDM)系统中,用于通道功率均衡与增益平坦化调节。
光纤传感系统:在分布式传感与干涉测量中,用于信号幅度控制与系统校准。
实验室研发:为光学器件性能验证提供高精度、可重复的衰减调节手段。
科毅光通信专注于光开关、光衰减器、光纤准直器等c研发与制造,始终关注行业前沿技术动向。此类结构创新的可调衰减器,为我们今后开发高集成度、低损耗的光学模块提供了重要技术参考。
光通信技术的持续发展,对核心无源器件提出了更高要求。此项技术在连续可调衰减器的结构设计与光学性能优化方面提供了新思路,其低损耗、连续可调、易集成的特点,符合未来光设备小型化、智能化的发展趋势。
身为光器件供应商,我们将继续跟踪此类技术创新,并结合自身在光开关与光纤集成组件的研发经验,推动更多高性能、高可靠的光通信产品落地,为行业客户提供优质解决方案。
择合适的光开关等光学器件及光学设备是一项需要综合考量技术、性能、成本和供应商实力的工作。希望本指南能为您提供清晰的思路。我们建议您在明确自身需求后,详细对比关键参数,并优先选择像科毅光通信这样技术扎实、质量可靠、服务专业的合作伙伴。
访问广西科毅光通信官网www.coreray.cn浏览我们的光开关产品,或联系我们的销售工程师,获取专属的选型建议和报价!
(注:本文部分内容由AI协助习作,仅供参考)