TOP
首页 > 新闻动态
2026-02-06
在工业制造、激光加工等领域,二氧化碳激光器凭借输出功率高、光电能量转换效率优异的特点,成为表面改性、焊接等关键工艺的核心设备。光开关是激光器的重要组成部件,其性能可靠性直接关系到激光设备的稳定运行与操作人员的人身安全。传统光闸多由45°反射镜片与散热板构成,长期使用易因散热不足导致散热板烧毁、烧穿,不仅无法有效吸收激光,还可能损伤其他元器件,存在严重安全隐患。因此我们针对这一通电推出一款二氧化碳激光与可见光相互切换机械光开关,以创新结构设计与卓越性能,为激光设备安全高效运行提供核心保障。
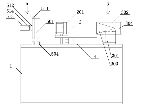
这款二氧化碳激光光开关是专为二氧化碳激光器量身打造的机械控制型光开关产品,通过集成底座、反射镜座、光斗装置、气缸驱动系统及可见光调节装置,实现对二氧化碳激光输出的精准开关控制与位置可视化指示。产品采用气缸驱动反射镜座滑动的设计,配合双面反射镜与锥形激光接收孔结构,确保激光吸收准确率达到100%;同时搭载多维度可调的可见光调节装置,使可见光与二氧化碳激光实现同光路传播,直观指示不可见激光的实时位置。此外,光斗装置内置冷却液循环系统,有效解决传统光闸散热难题,保障设备长期稳定运行。作为广西科毅光通信的核心产品之一,该机械光开关已通过严格的性能测试,广泛适配各类中高功率二氧化碳激光器,为工业生产提供安全、高效、精准的激光控制解决方案。
一款高性能的光开关离不开科学合理的结构设计,本产品通过模块化布局与精密部件搭配,实现了功能与可靠性的双重突破。以下为各核心结构的详细解析:
底座作为整个装置的安装基础,采用高强度合金材料加工而成,确保结构稳定性与承重能力,为后续部件安装提供精准基准。反射镜座通过气缸滑动连接于底座中部位置,其顶部呈45度固连有双面反射镜——这种设计让反射镜既能高效反射二氧化碳激光,又能接收可见光调节装置发出的指示光,实现光路切换的无缝衔接。气缸作为驱动核心,固定于底座侧面,活塞杆自由端与反射镜座刚性连接,通过气压驱动实现反射镜座沿底座水平面的平稳滑动,进而控制激光光路的通断。整个传动结构经过精密校准,滑动误差控制在微米级,确保激光切换的准确性与响应速度。
光斗装置是本款激光设备光开关的核心功能部件,安装于反射镜座一侧的底座上,底部通过光斗座螺纹连接固定,并可通过螺栓调节高度,适配不同激光光路需求。光斗装置主要由光斗块与冷却液循环装置两部分组成:
光斗块采用耐高温合金材料制成,呈矩形结构,内部设有锥形激光接收孔与冷却液循环通道。锥形设计的激光接收孔能够全方位捕捉反射镜反射的二氧化碳激光,避免激光泄漏;冷却液循环通道紧贴激光接收孔周围布置,进液口与出液口分别连接光斗块顶部的循环冷却液管,形成闭合散热回路。在实际应用中,冷却液通过循环通道持续带走激光照射产生的热量,使光斗块温度始终维持在安全范围内,彻底解决传统光闸因散热不足导致的烧毁问题。

图1 二氧化碳激光与可见光切换机械开关整体结构主视图

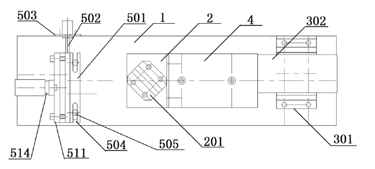
图2 二氧化碳激光与可见光切换机械开关整体结构俯视图
为解决二氧化碳激光不可见的定位难题,本产品专门设计了多维度可调的可见光调节装置,安装于反射镜座另一侧的底座上,能够实现可见光与二氧化碳激光的同光路传播,通过可见光光斑直接指示激光位置。该装置由水平调节机构、竖直调节机构与角度调节机构组成,结构精密且调节便捷:
水平调节机构包括镜座支架、调节螺钉与挡板。镜座支架底部两端设有四个滑槽,与底座上的四个螺栓滑动连接,调节螺钉穿过挡板上的通孔与镜座支架螺纹连接,通过旋转调节螺钉即可改变镜座支架在底座上的水平位置,滑动方向与气缸推动方向垂直,确保调节无干涉。
竖直调节机构由镜座、指示光座、指示光罩与指示光构成。指示光通过指示光座固定于镜座中心,外部套装指示光罩起到防护作用;镜座滑动连接于镜座支架的竖直面上,沿竖直方向开设有两个条形孔,通过调节条形孔内的固定螺栓,可实现镜座的上下滑动,进而调整指示光光斑的高低位置。
角度调节机构通过沿镜座圆周方向开设的螺纹通孔实现,通孔内螺纹连接有顶钉,顶钉顶持在镜座支架竖直面上,通过调节不同位置的顶钉,可改变镜座的俯仰角度,精准校准指示光的照射方向,确保可见光与二氧化碳激光完全同光路。

图3 二氧化碳激光光开关镜座支架俯视图

图4 二氧化碳激光光开关反射镜座剖视图

图5 二氧化碳激光光开关调节角度镜座结构主视图
这款高精度光开关的工作流程清晰易懂,通过机械驱动与光路校准的协同配合,实现激光控制的自动化与精准化:
当需要关闭二氧化碳激光器的光闸时,气缸接收控制系统指令,推动反射镜座沿底座长度方向滑动,使反射镜座上的45度反射镜移动至激光光路中,将二氧化碳激光反射至光斗装置的锥形激光接收孔内。此时,光斗装置的冷却液循环系统同步启动,冷却液在循环通道内持续流动,快速带走激光照射产生的热量,避免光斗块温度过高。
在激光反射过程中,可见光调节装置同步工作:指示光发出的可见光穿过镜座与镜座支架竖直面上的通孔,照射在反射镜的可见光反射面上,经反射后与二氧化碳激光沿同一光路传播。操作人员通过观察可见光光斑的位置,即可精准判断不可见的二氧化碳激光的照射位置,确保激光完全被光斗装置吸收,避免泄漏风险。
当需要打开激光输出时,气缸驱动反射镜座反向滑动,反射镜脱离激光光路,二氧化碳激光正常输出;可见光调节装置可根据需求保持开启或关闭,方便操作人员随时校准光路。整个过程无需人工干预,完全由激光器控制系统自动控制,既提高了操作效率,又最大程度保障了操作人员的人身安全。
相较于传统光闸与同类光开关产品,本款二氧化碳激光与可见光切换机械光开关具有以下四大核心优势:
通过可见光调节装置的三维精准调节,实现可见光与二氧化碳激光的同光路传播,操作人员可直观观察激光位置,确保激光100%投射至光斗装置的激光接收孔内,避免因定位偏差导致的激光泄漏,提高激光吸收准确率,保障设备与人员安全。
光斗装置内置的冷却液循环系统,针对激光接收孔区域进行定向散热,散热效率较传统自然散热提升数倍,可有效控制光斗块温度在安全范围内波动,避免长时间使用导致的烧毁、烧穿问题,显著延长产品使用寿命与设备运行稳定性。
可见光调节装置的水平、竖直与角度调节机构均采用螺纹传动设计,结构简单且调节精度高,操作人员可根据实际需求快速校准可见光光斑位置,无需专业工具即可完成调试,降低使用门槛。
反射镜座的滑动由气缸驱动,且气缸已集成至二氧化碳激光器的控制系统中,工作时无需人工手动控制光闸开关,减少人为操作失误带来的安全风险;同时,全封闭的结构设计与多重防护措施,进一步提升了产品在工业环境中的使用安全性。
这款自动控制光开关凭借卓越的性能与可靠的品质,广泛适用于各类二氧化碳激光器相关的工业场景:
在金属材料表面淬火、氮化、熔覆等改性工艺中,可精准控制激光的输出与关闭,配合可见光定位功能,确保激光均匀作用于工件表面,提升改性效果与产品质量。
适用于汽车制造、机械加工等行业的激光焊接工艺,通过自动化光闸控制,实现焊接过程的连续稳定运行,避免激光泄漏对操作人员造成伤害,同时保障焊接接头的一致性。
在板材切割、精密雕刻等应用中,可快速响应激光器的光路切换需求,精准定位激光焦点,提高切割/雕刻的精度与效率,尤其适用于对安全性要求较高的批量生产场景。
为高校、科研机构的二氧化碳激光器相关实验提供安全、精准的光路控制解决方案,方便研究人员进行光路调试与实验操作,降低实验风险。
择合适的光开关等光学器件及光学设备是一项需要综合考量技术、性能、成本和供应商实力的工作。希望本指南能为您提供清晰的思路。我们建议您在明确自身需求后,详细对比关键参数,并优先选择像科毅光通信这样技术扎实、质量可靠、服务专业的合作伙伴。
访问广西科毅光通信官网www.coreray.cn浏览我们的光开关产品,或联系我们的销售工程师,获取专属的选型建议和报价!
(注:本文部分内容由AI协助习作,仅供参考)