TOP
首页 > 新闻动态
2026-02-09
在光纤通信技术高速发展的当下,波分复用(WDM)技术凭借其能大幅提升光纤传输容量、降低通信链路建设成本的优势,成为光纤通信系统中的核心应用技术之一。而多波长光纤激光器作为波分复用系统的关键光源器件,能够同时为多个信道提供稳定光源,其性能直接影响着光纤通信系统的传输效率与稳定性,也因此成为光通信领域的研究与应用热点。科毅光通信司深耕光通信器件领域,聚焦光开关、光纤激光器配套器件等核心产品的研发与销售,深知高性能光通信器件对行业发展的重要性,这回我们围绕可开关多波长半导体光纤环形激光器,深入解析其结构、工作原理、技术优势及在光通信领域的应用价值,为光通信行业的技术应用与器件选型提供参考。
在多波长光纤激光器的研发与应用过程中,传统技术方案始终存在着诸多难以突破的痛点,制约了器件的实际应用效果。早期研究较多的掺铒光纤激光器,以掺铒光纤作为增益介质,但受限于掺铒光纤的均匀展宽特性,想要在室温环境下获得稳定的多波长激射难度极大,无法满足波分复用系统对光源稳定性的核心需求。
另一类基于拉曼放大的光纤激光器,虽利用拉曼放大的非均匀增益特性有效抑制了模式竞争,解决了多波长激射的稳定性问题,但其工作过程需要较大的泵浦功率,不仅增加了器件的能耗与使用成本,还对设备的体积、散热等设计提出了更高要求,在小型化、便携化的光通信设备应用中受到了严格限制。
在多波长选频环节,光纤光栅是实现波长反馈与选择的核心部件,普通光纤光栅仅能反射特定的单一波长,若要实现多波长选频,就需要采用取样光栅、重叠写入式光栅、保偏光纤光栅等特殊结构的光纤光栅。这类特殊光栅的制作工艺复杂,加工难度大,不仅大幅提升了器件的生产成本,还在批量生产过程中难以保证一致性,不利于多波长光纤激光器的规模化应用。
同时,光通信系统对光源的灵活性要求日益提升,单一波长输出的激光器已无法满足复杂通信场景的使用需求,能够实现单波长、双波长及多波长灵活切换的可开关式多波长激光器,成为行业发展的重要方向。而如何在实现波长可开关切换的同时,保证各波长输出的功率均衡性与稳定性,成为光通信器件研发的关键课题。
针对传统多波长光纤激光器的技术痛点,业内研发出了基于2°角倾斜多模光纤布拉格光栅的可开关多波长半导体光纤环形激光器,该器件将半导体光放大器的非均匀增益特性与倾斜光栅的多波长滤波特性相结合,实现了结构与性能的双重优化,其整体结构紧凑、各部件协同性强,能够稳定实现功率均衡的单、双、多波长可开关切换输出。
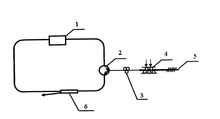
该激光器的核心组成部件包括半导体光放大器(SOA)、光环形器、偏振控制器、扰模器、2°角倾斜多模光纤布拉格光栅以及光耦合器,各部件通过光纤光连接形成环形谐振腔,保证光信号的单向传输与放大选频。其具体的结构连接方式如下图所示:

图1 可开关多波长半导体光纤环形激光器结构示意图
各部件在环形谐振腔中依次连接,形成了完整的光信号传输与处理链路:半导体光放大器作为核心增益介质,采用120mA的驱动电源提供工作动力;光环形器第一端口连接半导体光放大器,第二端口与偏振控制器相连,第三端口则连接光耦合器,从根本上保证光纤中光信号的单方向传输,避免信号回传造成的干扰;偏振控制器一端与光环形器第二端口连接,另一端通过扰模器与2°角倾斜多模光纤布拉格光栅相连;光耦合器的10%端口作为激光输出端,剩余90%端口则连接回半导体光放大器,将未输出的光能量重新导入增益介质进行放大,实现光能量的循环利用,提升激光器的输出效率。
可开关多波长半导体光纤环形激光器的性能优势,源于各核心器件的精准选型与功能协同,每个部件都在光信号的放大、传输、选频、偏振调节等环节发挥着不可替代的作用,其中关键器件的参数与功能更是经过了精准设计,适配多波长可开关输出的核心需求。
半导体光放大器是该激光器的能量核心,作为增益介质其采用120mA的驱动电源驱动工作,能够产生放大的自发辐射光,为整个环形谐振腔提供光能量。与传统的掺铒光纤、拉曼放大介质不同,半导体光放大器具有非均匀增益特性,这一特性能够有效抑制光纤中的模式竞争,避免某一波长的光信号在谐振过程中占据主导地位,为多波长光信号的稳定激射提供了基础,也是实现多波长功率均衡输出的关键因素之一。
光环形器是实现光信号单向传输的核心无源器件,其三个端口的定向连接设计,让光信号只能按照“半导体光放大器→偏振控制器→光耦合器→半导体光放大器”的方向传输,彻底避免了光信号的反向回传,有效消除了回传信号对增益介质和选频器件的干扰,保证了谐振腔的工作稳定性,同时也减少了光能量的无效损耗。
偏振控制器连接于光环形器与扰模器之间,其核心功能是调整光纤中谐振光的偏振态。通过调节偏振控制器的工作状态,能够精准控制半导体光放大器增益带宽内不同波长光信号的反射率,让多个反射波长在谐振腔内获得的净增益尽可能相等,这是实现单、双、多波长功率均衡输出的核心调节手段,也是保证波长切换后输出稳定性的重要部件。
扰模器插接在偏振控制器和2°角倾斜多模光纤布拉格光栅之间,是实现波长可开关切换的核心调节器件,其核心作用是改变光纤中的模式激励条件。通过调整扰模器上的压力大小,能够改变光纤的传输特性,进而影响后续2°角倾斜多模光纤布拉格光栅的反射率,反射率的变化会直接导致激光的起振波长发生相应改变,以此实现不同波长的开启与关闭,为波长的灵活切换提供了硬件支撑。
2°角倾斜多模光纤布拉格光栅是该激光器的多波长选频核心,也是区别于传统多波长激光器的关键部件,其各项参数经过精准设计:倾斜角为2°,纤芯直径62.5μm,芯层折射率约为1.452,光栅周期为536.8nm。作为一种特殊的光纤光栅,其纤芯中倾斜的折射率调制使得前向传输的纤芯模能够耦合到后向的纤芯模以及多个包层模,在反射谱中能够形成多个谐振峰,从而实现多波长选频的功能。相较于传统的取样光栅、重叠写入式光栅,该光栅的制作工艺更简单,有效降低了激光器的生产制造成本。
光耦合器在激光器中承担着光能量分配与激光输出的功能,其一侧端口连接光环形器第三端口,另一侧分为10%端口和90%端口:10%端口作为激光输出端,将符合要求的激光信号对外输出,满足实际应用需求;90%端口则连接回半导体光放大器,将未输出的光能量重新导入增益介质进行再次放大,实现光能量的循环利用,大幅提升了光能量的利用率,保证了激光器的输出功率。
该激光器的整体工作流程围绕环形谐振腔的光信号传输、放大、选频、调节展开,通过各核心器件的协同工作,实现了从光能量产生到激光信号精准输出的全过程,其波长可开关切换与功率均衡的核心优势,源于扰模器与偏振控制器的双重调节机制,具体工作原理如下:
1. 光能量产生:采用120mA的驱动电源为半导体光放大器供电,半导体光放大器在电源驱动下产生放大的自发辐射光,为整个环形谐振腔提供基础光能量,这些光能量以宽带光的形式进入光环形器,开始单向传输。
2. 单向传输与偏振调节:光信号通过光环形器的定向传输,从第二端口进入偏振控制器,偏振控制器根据实际需求调整光信号的偏振态,为后续的多波长选频做好准备。
3. 模式激励条件改变:经过偏振调节的光信号进入扰模器,通过调整扰模器上的压力大小,改变光纤中的模式激励条件,进而影响2°角倾斜多模光纤布拉格光栅的反射率,实现激光起振波长的精准调控,完成不同波长的开启与关闭切换。
4. 多波长选频:光信号进入2°角倾斜多模光纤布拉格光栅后,光栅利用其多波长滤波特性进行选频,筛选出符合起振条件的波长光信号,这些光信号通过反射重新进入环形谐振腔。
5. 增益均衡与能量循环:反射后的光信号再次经过偏振控制器、光环形器后进入光耦合器,偏振控制器通过精准调节,让各选频波长的光信号在谐振腔内获得的净增益保持一致;光耦合器将10%的光能量通过输出端对外输出,剩余90%的光能量则重新导入半导体光放大器进行再次放大,实现光能量的循环利用。
6. 稳定输出:经过多次的谐振、放大、选频与调节,光信号在环形谐振腔内形成稳定的多波长激射,最终通过光耦合器的输出端实现功率均衡的单波长、双波长或多波长激光信号输出,满足不同应用场景的需求。
在实际的连续工作测试中,该激光器在2小时的连续扫描过程中,输出抖动仅约为0.12dB,波长分离比为0.54nm,充分证明了其输出的稳定性与波长的分辨精度,能够满足光通信系统对光源的严苛要求。
相较于传统的多波长光纤激光器,这款可开关多波长半导体光纤环形激光器通过结构设计与核心器件的创新选型,实现了技术层面的多重突破,兼具结构、性能、成本等多方面的优势,具体体现在以下几点:
利用半导体光放大器的非均匀增益特性,从根本上抑制了光纤中的模式竞争问题,避免了某一波长光信号的强激射对其他波长的压制,让多个波长的光信号能够在谐振腔内稳定起振,解决了传统掺铒光纤激光器室温下难以实现稳定多波长激射的行业痛点,提升了激光器的工作稳定性。
采用2°角倾斜多模光纤布拉格光栅作为多波长选频核心,替代了传统多波长激光器中制作工艺复杂的取样光栅、重叠写入式光栅、保偏光纤光栅等特殊光栅,该光栅的制作工艺更简单,批量生产的一致性更好,不仅大幅降低了光栅的制作难度,还有效控制了激光器的整体生产制造成本,利于规模化推广与应用。
通过调整扰模器的压力大小即可改变激光的起振波长,实现单波长、双波长及多波长的灵活切换,操作简单、调节精准,能够适配波分复用系统中不同信道数量的使用需求,提升了激光器的灵活性与适配性,满足光通信、光传感等多个领域的复杂应用场景。
通过偏振控制器的精准调节,能够让SOA增益带宽内不同波长的光信号获得相等的净增益,实现了多波长输出的功率均衡,避免了各波长功率差异过大影响后续系统的工作效率,大幅提升了激光光源的质量,为波分复用系统的稳定传输提供了可靠保障。
该激光器的核心部件均为光纤光连接,整体结构设计简单、体积紧凑,便于集成到各类光通信设备中;同时利用光耦合器实现了光能量的循环利用,90%的未输出能量重新导入增益介质放大,大幅提升了光能量的利用率,保证了激光器的输出功率,也降低了器件的能耗。
在实际测试中,该激光器能够实现长时间的稳定输出,2小时连续扫描的输出抖动仅0.12dB,波长分离比达到0.54nm,具备优异的工作稳定性;同时其核心部件均为成熟的光通信器件,对工作环境的要求相对宽松,在室温下即可稳定工作,环境适应性较强。
可开关多波长半导体光纤环形激光器作为光通信领域的核心光源器件,其与光开关、光分路器、光模块等光通信器件的协同工作,构成了波分复用系统的核心硬件支撑。在光纤通信网络中,光开关作为实现光信号通断、切换的核心器件,能够与可开关多波长半导体光纤环形激光器配合,实现激光信号的光路切换与信道分配,让多波长激光信号能够根据通信需求灵活接入不同的传输链路,进一步提升光纤通信系统的灵活性与智能化水平。
随着5G、千兆光网、数据中心互联等新一代信息技术的发展,光纤通信系统对传输容量、传输速率、灵活性的要求将持续提升,波分复用技术的应用场景也将不断拓展,这也为可开关多波长半导体光纤环形激光器带来了更广阔的应用空间。该激光器不仅可应用于光纤通信系统的光源供给,还可在光传感、激光测距、光谱分析等领域发挥重要作用,成为多领域的核心光源器件。
同时,光通信器件行业的发展趋势朝着小型化、集成化、低功耗、高稳定性方向迈进,可开关多波长半导体光纤环形激光器的结构设计与技术优势,契合了行业的发展需求。未来,随着核心器件的进一步优化与集成技术的发展,这类激光器将与光开关、光模块等器件实现更深度的集成,形成一体化的光通信光源模块,为光纤通信系统的小型化、智能化发展提供更有力的支撑。
广西科毅光通信科技有限公司始终聚焦光通信核心器件的研发与销售,深耕光开关等器件的技术升级与产品优化,深知光通信器件的协同发展对行业的重要性。在未来的发展中,公司将持续关注光通信领域的技术创新,不断完善产品体系,为客户提供高性价比的光开关、光纤激光器配套器件等产品,助力光通信行业的高质量发展。
可开关多波长半导体光纤环形激光器作为光通信领域的创新型光源器件,通过半导体光放大器与2°角倾斜多模光纤布拉格光栅的创新结合,有效解决了传统多波长光纤激光器的模式竞争、成本高昂、波长切换困难等痛点,实现了结构简单紧凑、性能稳定、成本可控、波长可灵活开关切换的核心优势。其各核心器件的精准选型与协同工作,让激光器能够实现功率均衡的单、双、多波长输出,在光纤通信、光传感等领域具有重要的应用价值。
在光纤通信技术不断发展的背景下,这类高性能的多波长激光器将与光开关等光通信核心器件深度协同,成为波分复用系统等光通信设备的核心支撑。同时,随着光通信行业的技术升级,可开关多波长半导体光纤环形激光器也将迎来进一步的优化与集成,在小型化、集成化、低功耗等方面实现新的突破,为光通信行业的发展注入新的动力。
择合适的光开关等光学器件及光学设备是一项需要综合考量技术、性能、成本和供应商实力的工作。希望本指南能为您提供清晰的思路。我们建议您在明确自身需求后,详细对比关键参数,并优先选择像科毅光通信这样技术扎实、质量可靠、服务专业的合作伙伴。
访问广西科毅光通信官网www.coreray.cn浏览我们的光开关产品,或联系我们的销售工程师,获取专属的选型建议和报价!
(注:本文部分内容由AI协助习作,仅供参考)