TOP
首页 > 新闻动态
2026-01-29
在光通信技术飞速发展的今天,光开关作为光纤线路换接的核心器件,广泛应用于光纤通信系统中,承担着备份线路换接、信号路径切换等关键任务,其性能直接影响通信系统的稳定性和传输效率。传统光开关在实际应用中面临诸多痛点:一方面,受温度、振动等环境因素影响,输入与输出光纤间容易出现对准偏差,导致传输损耗增加;另一方面,多数光开关无法调整使用角度,面对复杂的安装环境时适配性差,极大限制了使用范围。
科毅光通信(官网:www.coreray.cn)基于多年光通信器件研发经验,推出集成多项核心技术的高性能可调节光开关。这款产品融合了角度调节、稳定固定、高效散热等多重优势,通过科学的结构设计和精准的工艺把控,有效解决了传统光开关的使用局限,为光通信系统提供更可靠、更灵活的解决方案。接下来,我们将从产品结构、核心功能、应用场景等维度,全面解析这款光开关的独特优势。
这款高性能光开关采用模块化设计,主要由开关主体、光纤组件、固定组件、调节组件和散热组件五大核心部分构成,各组件协同工作,既保证了产品的稳定性,又赋予了产品极强的适配性。
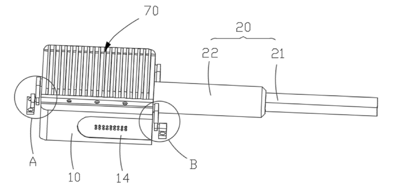
如图1所示,开关主体作为核心承载部件,整合了所有功能组件,其表面设计的安装槽为调节组件提供了稳定的安装基础;光纤组件位于开关主体前端,负责光信号的传输与接收;固定组件对称分布在开关主体两侧,确保产品安装后的稳固性;调节组件嵌入开关主体的安装槽内,可实现多角度微调;散热组件则贴合开关主体背部,持续排出工作时产生的热量。
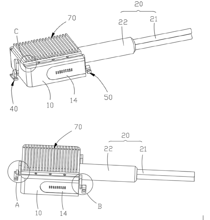
从另一角度观察(如图2所示),各组件的布局紧凑有序,既保证了空间利用率,又避免了组件间的相互干扰,同时为后续的安装、调试和维护提供了便利。

图1:光纤开关整体结构示意图

图2:光纤开关另一个角度的结构示意图
开关主体是整个光开关的基础,采用高强度工程塑料一体成型,兼具轻量化和抗冲击性,能适应不同环境下的安装需求。主体上设有专门的安装槽(如图3所示),该安装槽分为转动件放置槽和支腿放置槽两部分(如图4所示),分别用于容纳调节组件的转动件和支腿单元,确保调节组件安装后结构稳定。

图3:去掉调节组件后的结构示意图

图4:安装槽细节放大示意图
同时,开关主体设计有透光面,该透光面与光纤组件的光纤件对应设置,能够减少光信号传输过程中的折射损耗,保证光信号的高效传递。这种结构设计既考虑了组件的安装稳定性,又兼顾了光信号传输的精准性。
光纤组件是光信号传输的核心载体,由多个光纤件和防护套组成(如图5所示)。光纤件采用高品质石英光纤,具有低损耗、高透光率的特点,能精准传递光信号;防护套采用耐磨、耐高温的弹性材料,紧密套设于光纤件外部,不仅能防止光纤件受到物理磨损,还能隔绝外界温度变化对光纤传输的影响,有效延长产品使用寿命。

图5: 光纤组件装配示意图
针对不同的应用需求,光纤组件支持1×2、2×4等多种进线和出线规格,可根据光通信系统的线路布局灵活适配,满足备份线路换接、信号分流等不同场景的使用需求。
固定组件分为第一固定单元和第二固定单元,分别安装于开关主体的两侧(如图6所示),通过对称设计实现双向稳固固定,避免光开关在工作过程中因振动、碰撞等因素发生位移。

图6:固定组件分布示意图
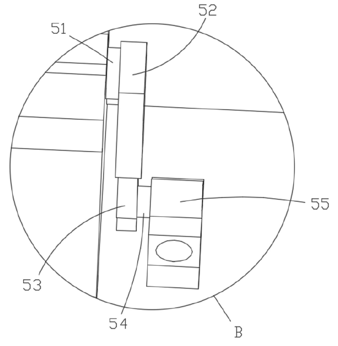
第一固定单元的结构如图7所示,主要由第一转轴、第一连接件、第一伸缩件、第一枢接轴和第一固定件组成。第一连接件上设有第一伸缩槽,第一固定件可伸缩安装于伸缩槽内,配合第一转轴的转动功能和第一枢接轴的转向调节功能,能够适应不同安装面的形状和角度,实现精准固定。

图7:第一固定单元放大示意图
第二固定单元与第一固定单元结构对称(如图8所示),包括第二转轴、第二连接件、第二伸缩件、第二枢接轴和第二固定件,同样通过伸缩调节和转向调节的组合设计,进一步提升固定的稳定性和适配性。这种双向可调节的固定结构,使光开关能够适配平面、曲面等多种安装场景,无论是机房机架、通信设备箱体还是户外通信基站,都能实现稳固安装。

图8:第二固定单元放大示意图
调节组件是这款光开关的核心创新点之一,安装于开关主体的安装槽内,主要由转动件和支腿单元组成(如图9所示),其单独结构如图10所示。
转动件可转动安装于转动件放置槽的转动孔内,支腿单元则容纳于支腿放置槽中,通过转动件的旋转和支腿单元的伸缩,实现光开关使用角度的灵活调节。支腿单元由第一支腿和第二支腿组成,第二支腿可伸缩安装于第一支腿内部,第一支腿上设有通孔,第二支腿配备与通孔匹配的弹性件,弹性件一端固定于第二支腿,另一端嵌入通孔中,通过弹性件的卡合作用,可实现支腿长度的分段调节,进而精准控制光开关的倾斜角度。
这种调节结构设计,让光开关能够根据安装环境和线路布局,灵活调整使用角度,有效解决了传统光开关角度固定导致的适配性差问题。无论是需要水平安装、倾斜安装还是垂直安装,都能通过调节组件实现精准对准,减少因角度偏差造成的传输损耗。

图9:带调节组件的结构示意图

图10:调节组件拆解示意图
5. 散热组件:高效散热,稳定运行
光开关在长时间工作过程中会产生一定热量,若热量无法及时散发,可能导致组件性能下降,影响传输稳定性。为此,这款产品专门设计了散热组件(如图11所示),由散热底座和散热片组成。

图11:散热组件放大示意图
散热底座采用高导热系数的铝合金材料,紧密贴合开关主体背部,能够快速吸收主体产生的热量;散热片为多个等距排列的铝合金薄片,安装于散热底座上,通过增大散热面积,加速热量与空气的热交换,实现高效散热。这种散热结构设计,可使光开关在-20℃~60℃的宽温度范围内稳定工作,即使在高温环境下长时间运行,也能有效控制温度升高,避免因过热导致的传输损耗增加或组件损坏。
相较于传统光开关无法调整角度的局限,这款产品通过调节组件的创新设计,实现了多角度灵活调节。支腿单元的伸缩调节与转动件的旋转功能相结合,可实现0°~90°范围内的角度微调,配合固定组件的双向固定,能够精准适配不同安装场景和线路布局需求。无论是复杂的机房环境还是户外基站的特殊安装位置,都能通过角度调节实现输入与输出光纤的精准对准,有效降低因角度偏差导致的传输损耗。
固定组件采用“转轴+伸缩件+枢接轴”的组合结构,双向对称设计确保安装后的稳固性。第一固定单元和第二固定单元均可根据安装面的形状和角度进行灵活适配,安装后不易因振动、碰撞等外部因素发生位移。同时,开关主体采用高强度材料制造,整体结构抗冲击、抗老化,能够适应恶劣的工作环境,提升光通信系统的运行稳定性。
散热组件的铝合金散热底座与多片式散热片协同工作,散热效率远超传统自然散热方式。通过快速吸收热量并扩大散热面积,有效控制产品工作温度,避免高温对光纤组件、电子元件等造成损伤,不仅保证了产品的长期稳定运行,还显著延长了使用寿命,降低了用户的维护成本。
光纤组件采用高品质石英光纤和专用防护套,透光率高、损耗低;开关主体的透光面与光纤件精准对应,减少了光信号传输过程中的折射损耗;角度调节功能则确保了输入与输出光纤的精准对准,进一步降低了对准偏差导致的损耗。多项技术的协同作用,使这款光开关的传输损耗控制在极低水平,为光通信系统的高效传输提供了保障。
产品采用模块化拆分设计,各组件之间安装拆卸方便,若后续需要维护或更换组件,无需整体拆卸产品,仅需针对对应模块进行操作即可,大大降低了维护难度和停机时间,提升了光通信系统的运维效率。
这款高性能可调节光开关凭借其灵活的适配性、稳定的传输性能和可靠的结构设计,广泛应用于多个光通信领域:
在光纤通信主干网、城域网等系统中,备份线路的快速换接至关重要。该光开关换接时间可达毫秒量级,能够在主线路出现故障时迅速切换至备份线路,确保通信不中断;同时,角度调节功能和稳定固定设计,使其能够适配机房内复杂的线路布局,提升系统的可靠性。
数据中心作为数据存储和传输的核心枢纽,需要大量光开关实现光信号的路径切换和分流。这款产品支持多种进线出线规格,可适配数据中心的高密度布线需求;高效的散热性能确保其在数据中心的高温环境下长期稳定运行,模块化设计则方便后期维护和扩容。
户外通信基站的安装环境复杂,安装位置多样,传统光开关往往难以适配。该产品的角度调节功能和灵活的固定方式,能够适应基站的特殊安装需求,同时其抗冲击、抗老化的结构设计,可应对户外的恶劣环境,保证基站光通信的稳定运行。
除上述场景外,该产品还可应用于光传感系统、光纤测试设备、广电传输网络等多个领域,凭借其精准的传输性能和灵活的适配性,为不同领域的光通信需求提供定制化解决方案。
技术参数 | 规格说明 |
产品型号 | KY-GKG-2024 |
开关类型 | 1×2、2×4(支持定制) |
调节角度范围 | 0°~90° |
传输损耗 | ≤0.5dB |
换接时间 | ≤5ms |
工作温度 | -20℃~60℃ |
存储温度 | -40℃~85℃ |
固定方式 | 双向伸缩+枢接固定 |
散热方式 | 铝合金底座+多片式散热片 |
光纤类型 | 单模光纤、多模光纤(可选) |
防护等级 | IP54 |
五、结语
在光通信技术不断升级的背景下,对光开关的适配性、稳定性和传输效率提出了更高要求。广西科毅光通信科技有限公司研发的高性能可调节光开关,针对传统产品的痛点进行创新设计,通过角度调节、稳定固定、高效散热等核心功能,有效提升了产品的适配性和可靠性,降低了传输损耗,为光通信系统提供了更优质的解决方案。
若需了解该产品的详细参数、价格报价或样品申请,欢迎访问广西科毅光通信官方网站(www.coreray.cn)了解更多产品详情,或联系我们的技术顾问获取专业支持!
择合适的光开关等光学器件及光学设备是一项需要综合考量技术、性能、成本和供应商实力的工作。希望本指南能为您提供清晰的思路。我们建议您在明确自身需求后,详细对比关键参数,并优先选择像科毅光通信这样技术扎实、质量可靠、服务专业的合作伙伴。
(注:本文部分内容由AI协助习作,仅供参考)