TOP
首页 > 新闻动态
2026-02-07
光纤开关作为光纤通信系统中实现线路换接的核心器件,其运行稳定性和使用寿命直接影响着整个通信链路的传输质量。光纤开关广泛应用于光纤通信系统的备份线路换接、光网络调度等场景,按进线和出线数目可分为1x2、2x4等多种类型,借助电磁感应改变可动光纤位置实现线路换接,换接时间可精准至毫秒量级,是光通信网络中不可或缺的基础设备。纤通信行业的不断升级,对光开关的防护性能、安装便捷性和环境适应性也提出了更高的要求。
科毅光通信深耕光通信设备研发生产领域,始终聚焦行业实际应用痛点,针对传统光纤开关缺乏有效保护、易受压受损、装卸繁琐等问题,打造出一款带保护装置的光纤开关,通过多重防护结构设计,兼顾设备防护性、操作便捷性和运行稳定性,全方位适配通信机房、信号柜等多种应用场景,为光纤通信系统的稳定运行提供可靠保障。
光纤开关作为光通信网络中的关键换接器件,大多需要安装在信号柜、通信机架或机房地面等环境中,部分场景还会面临搬运、移动的需求。但传统的光纤开关产品普遍存在防护设计缺失的问题,设备壳体直接裸露在外,在运输、安装或日常使用过程中,一旦受到外力挤压、碰撞,极易出现壳体变形、内部元件受损的情况,进而导致光纤接口接触不良、线路换接失灵,影响整个通信链路的正常运行。
同时,传统光纤开关多采用直接固定的安装方式,与安装面之间无缓冲、减震结构,设备运行时的轻微震动或外界环境的振动,都可能对内部精密元件造成损耗;且固定安装的设计让设备的拆卸、检修和更换变得十分繁琐,需要专业工具和较长的操作时间,增加了后期维护的人力和时间成本。此外,裸露的结构也让灰尘、杂物容易进入设备内部,附着在光纤接口和核心元件上,长期积累会降低信号传输效率,进一步缩短设备的使用寿命。
针对这些行业痛点,带保护装置的光纤开关通过一体化防护架设计、减震缓冲结构、便捷装卸组件的综合搭配,从根本上解决了传统产品的缺陷,让光纤开关的使用体验和耐用性得到大幅提升。
带保护装置的光纤开关的核心设计在于打造了“防护架+开关本体”的一体化结构,将开关本体置于防护架内部,通过防护架实现对开关本体的全方位防护,同时搭配减震、夹持、散热、防尘等多个功能组件,让设备在防护性和实用性上实现双重提升。整体结构主要由防护架、开关本体、光纤接口、防尘板、放置板、减震组件、散热风机、压板、安装组件等部分构成,各组件协同配合,既保证了对开关本体的有效保护,又不影响设备的正常接线和运行。

图1 带保护装置的光纤开关整体结构示意图
开关本体作为设备的核心功能部件,两侧固定连接有光纤接口,用于实现与光纤线路的对接,完成信号的传输和换接;防护架采用封闭式框架结构,将开关本体完全包裹在内,能有效抵御外界的挤压、碰撞,避免开关本体直接接触外界受力;防护架前表面活动连接有防尘板,可实现对防护架内部的封闭,防止灰尘、杂物进入;防护架内壁底部设置有可活动的放置板,开关本体直接放置在放置板顶部,放置板底部搭配减震弹簧和插杆组成的减震组件,实现对开关本体的底部支撑和减震缓冲;防护架内壁顶部的支架上不仅安装有散热风机,还通过隔板、压板、缓冲弹簧组成的夹持组件,实现对开关本体的顶部固定和缓冲防护,让开关本体在防护架内部处于稳定的夹持状态,同时上下均有缓冲结构,大幅提升设备的抗冲击、抗振动能力。
此外,防护架底部两侧固定连接有支撑板,两个支撑板之间设置有配重架,能有效降低设备的整体重心,避免设备在放置或使用过程中出现翻倒的情况;防护架顶部还设置有安装板和螺栓,可实现设备的壁挂式安装,让设备既可以直接放置在地面、信号柜内,也能壁挂在墙壁、机架上,适配多种安装场景。
带保护装置的光纤开关的核心优势之一,在于通过上下双重缓冲夹持结构的设计,让开关本体在受到外界冲击、振动时,能通过缓冲组件抵消大部分外力,避免内部精密元件受损,这一设计也是解决传统光纤开关易受压、易受振动影响的关键。

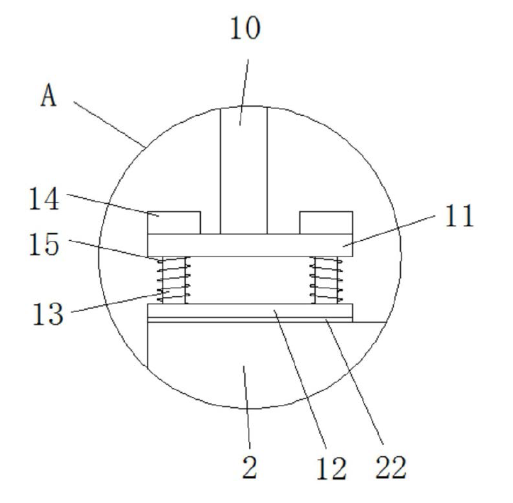
图2 带保护装置的光纤开关A处放大结构示意图
防护架内壁底部的放置板是开关本体的底部支撑部件,放置板与开关本体接触的一侧嵌设有防滑垫板,能增大放置板与开关本体之间的摩擦力,避免开关本体在放置板上出现滑动、移位,同时防滑垫板也能起到一定的缓冲作用,减少轻微振动带来的影响。
放置板底部两侧固定连接有插杆,防护架底部竖直开设有与插杆相匹配的插孔,插杆贯穿插孔并延伸至防护架外部,插杆的底端螺纹连接有调节螺母,调节螺母外表面套设有防滑套,方便工作人员旋转调节。插杆上还活动套设有减震弹簧,减震弹簧位于插孔和放置板之间,当放置板受到向下的压力或向上的振动时,减震弹簧会通过自身的弹性形变实现缓冲,抵消大部分外力;工作人员还可以通过旋转调节螺母,改变插杆在插孔内的伸出长度,进而调节放置板的高度,适配不同规格的开关本体,提升设备的通用性。
防护架内壁顶部的支架底部两侧固定连接有隔板,隔板下方安装有压板,压板与开关本体顶部相接触,形成对开关本体的顶部夹持,压板与开关本体接触的一侧同样嵌设有防滑垫板,与底部放置板的防滑垫板配合,让开关本体被稳定夹持在防护架内部,不会出现左右、上下的移位。
压板顶部两侧固定连接有螺杆,螺杆顶部贯穿隔板并安装有限位盖,螺杆上套设有缓冲弹簧,缓冲弹簧位于隔板和压板之间。当开关本体受到向上的压力或向下的振动时,压板会沿着螺杆上下移动,缓冲弹簧通过弹性形变实现缓冲,与底部的减震弹簧形成上下双重缓冲结构,全方位抵消外界的冲击力和振动力,即使设备在运输过程中受到颠簸,或在使用过程中受到外力碰撞,也能有效保护开关本体的内部元件不受损,大幅提升设备的抗冲击能力和使用寿命。
限位盖的设计能防止螺杆从隔板中脱落,保证压板的正常活动,同时工作人员也可以通过拆卸限位盖,调整压板的位置,方便开关本体的放入和取出,让设备的装卸更加便捷。
带保护装置的光纤开关在实现全方位防护的同时,也充分考虑了设备的运行环境和使用便捷性,通过散热、防尘、多场景安装的结构优化,让设备的环境适应性和操作便捷性得到进一步提升,满足不同应用场景的使用需求。
光纤开关在长时间运行过程中,内部元件会产生一定的热量,若热量无法及时散出,会导致设备内部温度升高,影响元件的工作性能,甚至出现元件烧毁的情况。针对这一问题,防护架内壁顶部的支架内壁顶部设置有三个散热风机,三个散热风机从左至右均匀分布在支架内,能实现对防护架内部的全方位吹风,加快防护架内部的空气流通,及时将开关本体运行产生的热量散出,保证开关本体始终在适宜的温度环境中运行,有效避免因过热导致的设备故障,提升设备的运行稳定性。
防护架前表面的防尘板采用滑动式设计,防尘板顶部固定连接有滑杆,防护架上水平开设有与滑杆相匹配的滑轨,滑杆可在滑轨内水平滑动,进而带动防尘板实现左右滑动。在设备正常使用时,工作人员可将防尘板滑动至闭合位置,封闭防护架的前表面,有效防止灰尘、杂物进入防护架内部,避免灰尘附着在光纤接口和开关本体的核心元件上,保证光纤接口的接触良好和信号传输效率;当需要对开关本体进行接线、检修或更换时,工作人员只需将防尘板向一侧滑动,即可打开防护架前表面,操作便捷,无需拆卸防尘板,大幅提升了设备的操作效率。
为了满足不同应用场景的安装需求,带保护装置的光纤开关设计了多场景安装结构,既支持落地式放置,也支持壁挂式安装。防护架底部两侧的支撑板能为设备提供稳定的底部支撑,让设备可以直接放置在地面、信号柜内等平面上,支撑板之间的配重架能降低设备的整体重心,有效防止设备翻倒;防护架顶部两侧还固定连接有安装板,安装板上贯穿安装有螺栓,工作人员可通过螺栓将安装板与墙壁、通信机架等固定面连接,实现设备的壁挂式安装,节省安装空间,同时也能避免设备因地面振动、积水等因素受到影响。
落地式和壁挂式的双重安装方式,让设备可灵活适配通信机房、信号柜、户外通信箱等多种应用场景,满足不同用户的安装需求,提升了设备的通用性。
相较于传统的光纤开关产品,带保护装置的光纤开关通过一系列的结构优化和技术设计,在防护性、稳定性、便捷性、通用性等方面都展现出显著的优势,能更好地适配光纤通信行业的实际应用需求,具体优势主要体现在以下几个方面:
一体化的防护架结构能有效抵御外界的挤压、碰撞,避免开关本体直接受力;上下双重缓冲夹持结构通过减震弹簧和缓冲弹簧的配合,能全方位抵消外界的冲击力和振动力,即使设备在运输、安装或使用过程中受到颠簸、碰撞,也能有效保护开关本体的内部精密元件不受损,大幅降低设备的故障概率。同时,防尘板和防滑垫板的设计,能有效防止灰尘进入和设备移位,进一步提升设备的防护效果。
三个均匀分布的散热风机能实现对防护架内部的全方位高效散热,及时散出开关本体运行产生的热量,避免设备因过热导致的性能下降或故障,保证开关本体长时间稳定运行;缓冲夹持结构让开关本体在防护架内部处于稳定状态,不会因振动出现移位、接触不良的情况,保证光纤接口的信号传输效率,让整个通信链路的传输更加稳定。
放置板的高度可通过调节螺母灵活调节,压板可通过拆卸限位盖进行位置调整,能适配不同规格的开关本体,提升设备的通用性;滑动式防尘板无需拆卸,即可实现防护架的开合,方便工作人员进行接线、检修操作;开关本体通过放置板和压板的夹持固定,无需复杂的固定结构,拆卸时只需调整压板和放置板的位置,即可快速将开关本体取出,大幅提升了设备的装卸和检修效率,减少了后期维护的人力和时间成本。
设备既支持落地式放置,也支持壁挂式安装,能灵活适配通信机房、信号柜、墙壁、通信机架等多种安装场景,配重架的设计让落地放置更加稳定,安装板和螺栓的设计让壁挂安装更加牢固,满足不同用户的安装需求,提升了设备的适用范围。
六、结语
在光纤通信网络向高速化、智能化、稳定化发展的背景下,光开关作为核心换接器件,其产品性能直接影响着整个通信网络的运行质量。带保护装置的光纤开关针对传统产品的设计弊端,从实际应用需求出发,通过一体化防护架、双重缓冲夹持、高效散热、滑动式防尘、多场景安装等一系列结构优化设计,实现了防护性、稳定性、便捷性的有机统一,有效解决了传统光纤开关易受压受损、装卸繁琐、散热不佳、防尘效果差等问题。
广西科毅光通信科技有限公司始终以光通信设备的技术创新和产品优化为核心,聚焦行业痛点和用户需求,打造出多款适配不同应用场景的光通信设备产品。未来,科毅光通信将继续深耕光纤通信领域,不断加大研发投入,优化产品设计,提升产品的性能和品质,为光纤通信行业的发展提供更加可靠、高效、优质的光通信设备和解决方案,助力光通信网络的建设和升级。
择合适的光开关等光学器件及光学设备是一项需要综合考量技术、性能、成本和供应商实力的工作。希望本指南能为您提供清晰的思路。我们建议您在明确自身需求后,详细对比关键参数,并优先选择像科毅光通信这样技术扎实、质量可靠、服务专业的合作伙伴。
访问广西科毅光通信官网www.coreray.cn浏览我们的光开关产品,或联系我们的销售工程师,获取专属的选型建议和报价!
(注:本文部分内容由AI协助习作,仅供参考)